Запчасти Komatsu PC650SE-3 ИЗ НАСОСА В КЛАПАН ТРУБЫ (/)(№9-) УПРАВЛ-Е РАБОЧИМ ОБОРУДОВАНИЕМ

Схема запчастей Komatsu PC650SE-3 - ИЗ НАСОСА В КЛАПАН ТРУБЫ (/)(№9-) УПРАВЛ-Е РАБОЧИМ ОБОРУДОВАНИЕМ
FIT
1:1
100%

Артикул

Название

Примечание

Количество

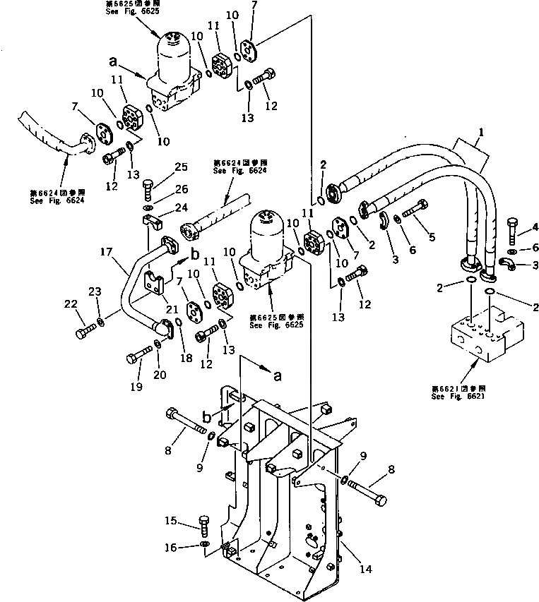
1

07099-01412

HOSE

2

21T-09-11510

O-RING

3

07371-51470

FLANGE,SPLIT

4

01010-51455

BOLT

5

01010-51465

BOLT

6

01643-31445

WASHER

7

209-62-51310

COVER

8

11T-61-14720

BOLT

9

01643-31645

WASHER

10

21T-09-11480

O-RING

11

209-62-51290

BLOCK

12

01252-41240

BOLT

13

01643-51232

WASHER

14

209-62-51432

BRACKET

15

01010-51635

BOLT

16

01643-31645

WASHER

17

209-62-51321

TUBE

18

21T-09-11510

O-RING

19

01010-51455

BOLT

20

01643-31445

WASHER

21

209-62-52440

CLAMP

22

01010-51250

BOLT

23

175-54-34170

WASHER

24

176-61-41330

CLAMP

25

01010-51250

BOLT

26

01643-31232

WASHER

Выбрано товаров: 0