Запчасти Komatsu PC650SE-3 МЕХ-М ОТБОРА МОЩНОСТИ (/)(№8-) ПОВОРОТН. СИСТЕМА

Схема запчастей Komatsu PC650SE-3 - МЕХ-М ОТБОРА МОЩНОСТИ (/)(№8-) ПОВОРОТН. СИСТЕМА
FIT
1:1
100%

Артикул

Название

Примечание

Количество

|1

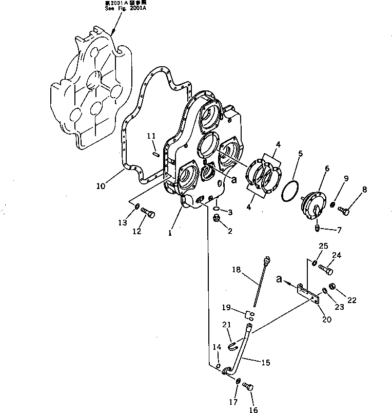
209-38-00023

P.T.O. ASS'Y

|1

209-38-00022

P.T.O. ASS'Y

1

209-38-51122

CASE

2

07044-12412

PLUG

3

07002-32434

O-RING

4

209-38-00011

SHIM ASS'Y

|4

SHIM¤ 0.1MM

|4

SHIM¤ 0.2MM

|4

SHIM¤ 0.5MM

5

07000-35200

O-RING

6

209-38-51630

COVER

7

07042-70108

PLUG

8

01010-51235

BOLT

9

01643-31232

WASHER

10

209-38-51130

GASKET

11

04020-01638

PIN,DOWEL

12

01010-51240

BOLT

13

01643-31232

WASHER

14

07000-33028

O-RING

15

209-38-51231

TUBE

16

01010-51040

BOLT

17

01643-31032

WASHER

18

209-38-51240

GAUGE

19

07000-33022

O-RING

20

209-38-51250

BRACKET

21

07283-22738

CLIP

22

01599-01011

NUT

23

01643-31032

WASHER

24

01010-51025

BOLT

25

01643-31032

WASHER

Выбрано товаров: 30