Запчасти Komatsu PC650SE-3 РАДИАТОР (С АНТИВАНДАЛЬН.) КОМПОНЕНТЫ ДВИГАТЕЛЯ И ЭЛЕКТРИКА

Схема запчастей Komatsu PC650SE-3 - РАДИАТОР (С АНТИВАНДАЛЬН.) КОМПОНЕНТЫ ДВИГАТЕЛЯ И ЭЛЕКТРИКА
FIT
1:1
100%

Артикул

Название

Примечание

Количество

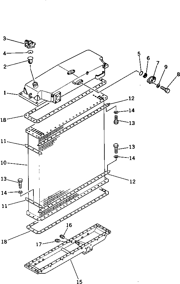
|1

209-03-00110

RADIATOR ASS'Y

|1

209-03-00120

.UPPER TANK ASS'Y

1

209-03-11282

..TANK,UPPER

2

07056-00048

..STRAINER

G-1

209-54-X4300

VANDALISM GROUP

B

=

====================

3

07093-20000

..CAP

B

=

====================

4

07057-03271

..RING,SNAP

5

07000-03045

..O-RING

6

175-03-32570

..SCREEN

7

154-03-11682

..VALVE

8

01010-51025

..BOLT

9

01643-31032

..WASHER

10

195-03-22131

.CORE

11

195-03-11143

.PLATE

12

195-03-22260

.PLATE

13

01010-51030

.BOLT

14

01602-21030

.WASHER,SPRING

15

195-03-22120

.TANK,LOWER

16

07042-30415

.PLUG

17

07042-30108

.PLUG

18

195-03-22430

.GASKET

Выбрано товаров: 23