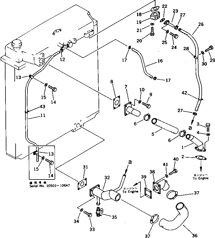
Запчасти Komatsu PC650SE-3 СИСТЕМА ТРУБ РАДИАТОРА КОМПОНЕНТЫ ДВИГАТЕЛЯ И ЭЛЕКТРИКА

Схема запчастей Komatsu PC650SE-3 - СИСТЕМА ТРУБ РАДИАТОРА КОМПОНЕНТЫ ДВИГАТЕЛЯ И ЭЛЕКТРИКА
FIT
1:1
100%

Артикул

Название

Примечание

Количество

1

209-03-51231

TUBE

|1

209-03-51230

TUBE

2

6210-61-6440

GASKET

3

01010-51035

BOLT

4

01643-31032

WASHER

5

209-03-51261

HOSE

|5

209-03-51260

HOSE

6

205-09-61120

CLAMP

|6

208-09-11120

CLAMP

7

209-03-51241

TUBE

|7

209-03-51240

TUBE

8

195-03-18650

GASKET

9

01010-51235

BOLT

10

01643-31232

WASHER

11

195-03-17880

TUBE

12

07285-00095

CLIP

13

195-03-11690

CLIP

|13

195-03-11690

CLIP

14

01010-51225

BOLT

15

01643-31232

WASHER

16

07260-20990

HOSE

17

07281-00197

CLAMP

18

07343-04808

GASKET

19

209-03-51310

ELBOW

20

01010-51260

BOLT

21

01643-31232

WASHER

22

07343-02708

GASKET

23

209-03-51320

TUBE

24

01010-51030

BOLT

25

01643-31032

WASHER

26

195-03-18680

HOSE

27

207-09-11110

CLAMP

28

195-03-11511

CLIP

29

01010-51225

BOLT

30

01643-31232

WASHER

31

195-03-18650

GASKET

32

209-03-51211

TUBE

|32

209-03-51210

TUBE

33

01010-51235

BOLT

34

01643-31232

WASHER

35

07730-40004

VALVE

|35

07730-20004

VALVE

36

209-03-51251

HOSE

|36

209-03-51250

HOSE

37

205-09-61110

CLAMP

38

209-03-51221

TUBE

|38

209-03-51220

TUBE

39

6212-61-6820

GASKET

40

01010-51035

BOLT

41

01643-31032

WASHER

42

08034-00834

BAND

43

08034-00519

BAND

Выбрано товаров: 52