Запчасти Komatsu PC650SE-5 КОНДИЦ. ВОЗДУХА (БЛОК КОНДИЦИОНЕРА)(№88-) КАБИНА ОПЕРАТОРА И СИСТЕМА УПРАВЛЕНИЯ

Схема запчастей Komatsu PC650SE-5 - КОНДИЦ. ВОЗДУХА (БЛОК КОНДИЦИОНЕРА)(№88-) КАБИНА ОПЕРАТОРА И СИСТЕМА УПРАВЛЕНИЯ
FIT
1:1
100%

Артикул

Название

Примечание

Количество

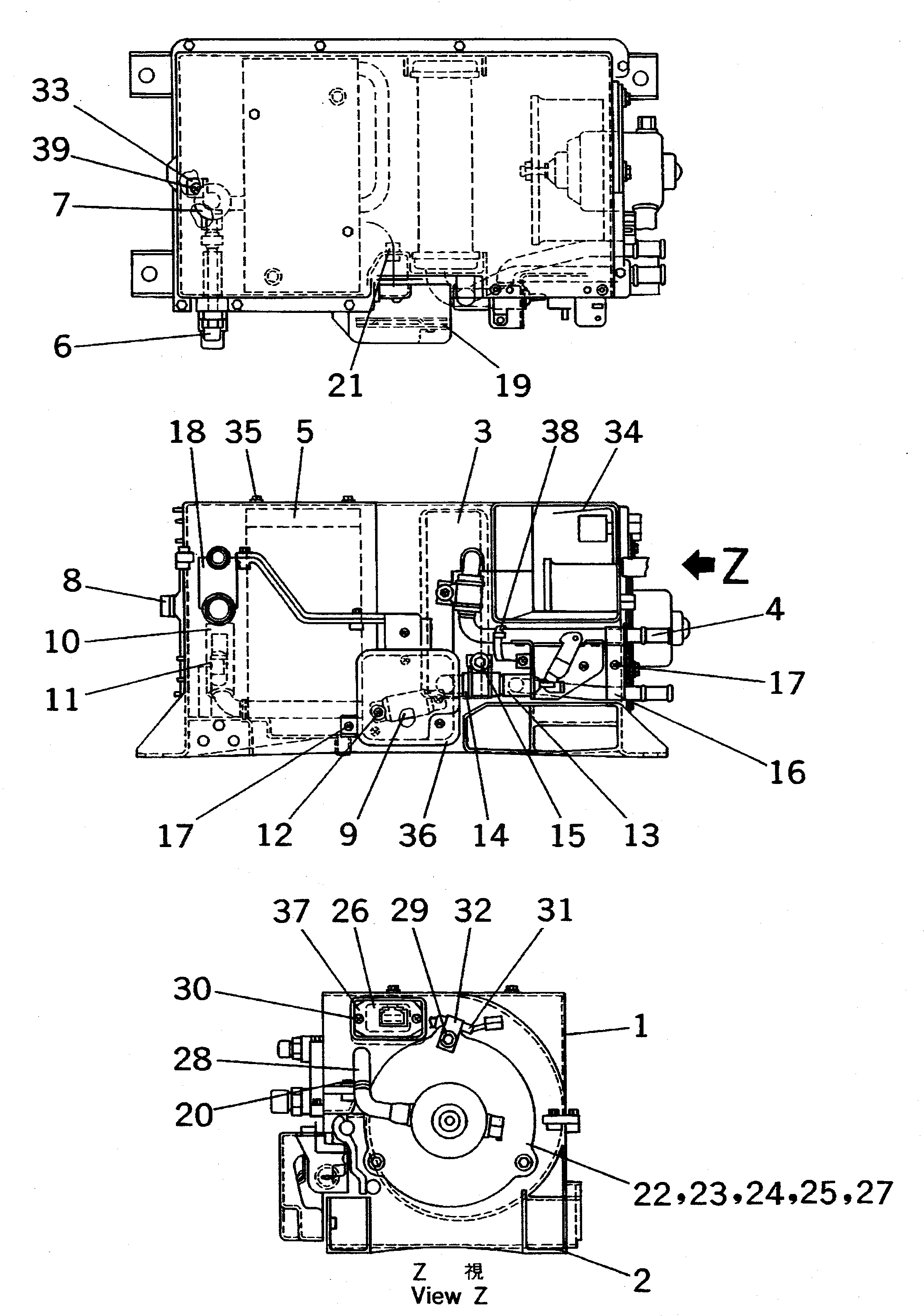
|1

209-979-6371

AIR CONDITIONER UNIT

|1

209-979-6370

AIR CONDITIONER UNIT

1

ND145420-4501

CASE ASS'Y

2

ND145420-4510

CASE ASS'Y

3

ND116410-3551

UNIT ASS'Y

4

205-979-7040

PIPE

5

ND447600-1880

EVAPORATOR

|5

205-979-7050

EVAPORATOR

6

ND446890-0170

TUBE

|6

569-07-61460

SWITCH ASS'Y

7

ND447500-0120

VALVE

|7

205-979-7070

VALVE

8

205-979-7080

FILTER

9

569-07-61520

THERMOSTAT

10

205-979-7100

PACKING

11

205-979-7110

HOLDER

12

ND91370-04101

SCREW

13

ND113600-8410

VALVE

14

205-979-7140

HOSE

15

205-979-7150

CLAMP

16

205-979-7160

CLAMP

17

ND90930-05121

SCREW

18

205-979-7170

PLATE

19

205-979-7180

BRACKET

20

ND91510-05161

BOLT

21

205-979-7190

INSULATOR

22

205-979-7200

FAN

23

205-979-7210

NUT

24

205-979-7220

WASHER

25

569-07-61510

MOTOR ASS'Y

26

ND146810-7581

RESISTOR

27

205-979-7250

PACKING

28

205-979-7260

PIPE

29

ND949008-0330

SCREW

30

ND913700-4251

SCREW

|30

ND909400-4251

SCREW

31

ND146421-5400

WIRE

32

205-979-7280

CLAMP

33

ND246680-2810

CLAMP

34

ND116621-5042

PLATE

35

ND949001-1470

SCREW

36

205-979-7300

COVER

37

ND146627-2270

SPACER

38

ND146690-2250

CLAMP

39

ND90940-05121

SCREW

Выбрано товаров: 45