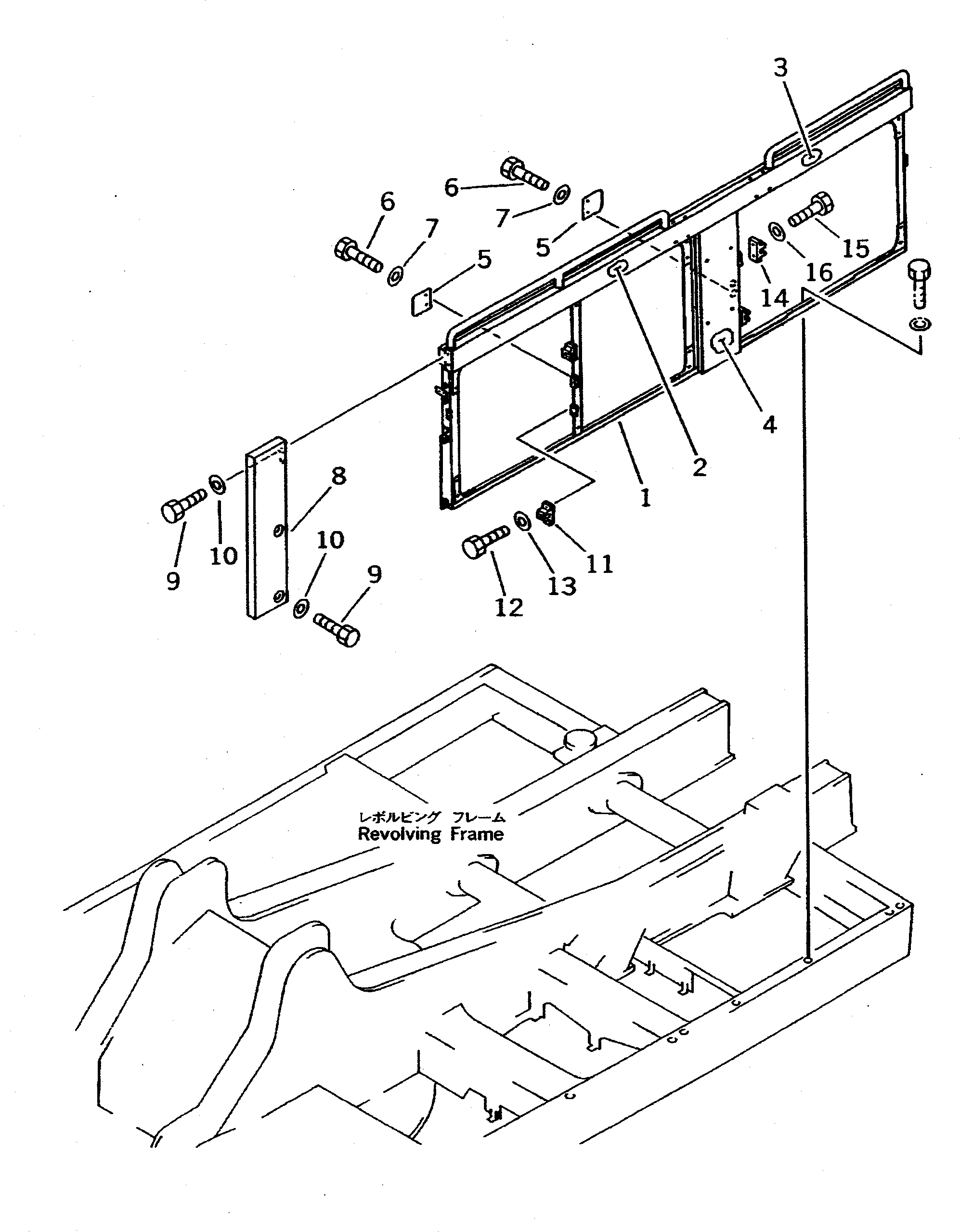
Запчасти Komatsu PC650SE-5 ЛЕВ. КРЫШКА( РАМА) ЧАСТИ КОРПУСА

Схема запчастей Komatsu PC650SE-5 - ЛЕВ. КРЫШКА( РАМА) ЧАСТИ КОРПУСА
FIT
1:1
100%

Артикул

Название

Примечание

Количество

1

209-54-63210

FRAME

2

209-54-56220

SHEET

3

209-54-56230

SHEET

4

209-54-56240

SHEET

5

209-54-63260

BRACKET

6

01010-51025

BOLT

7

01643-31032

WASHER

8

209-54-63220

COVER

9

01010-51225

BOLT

10

01643-31232

WASHER

11

205-54-51970

DOVE TAIL

12

01010-50616

BOLT

13

01643-30623

WASHER

14

205-54-51970

DOVE TAIL

15

01010-50616

BOLT

16

01643-30623

WASHER

Выбрано товаров: 0