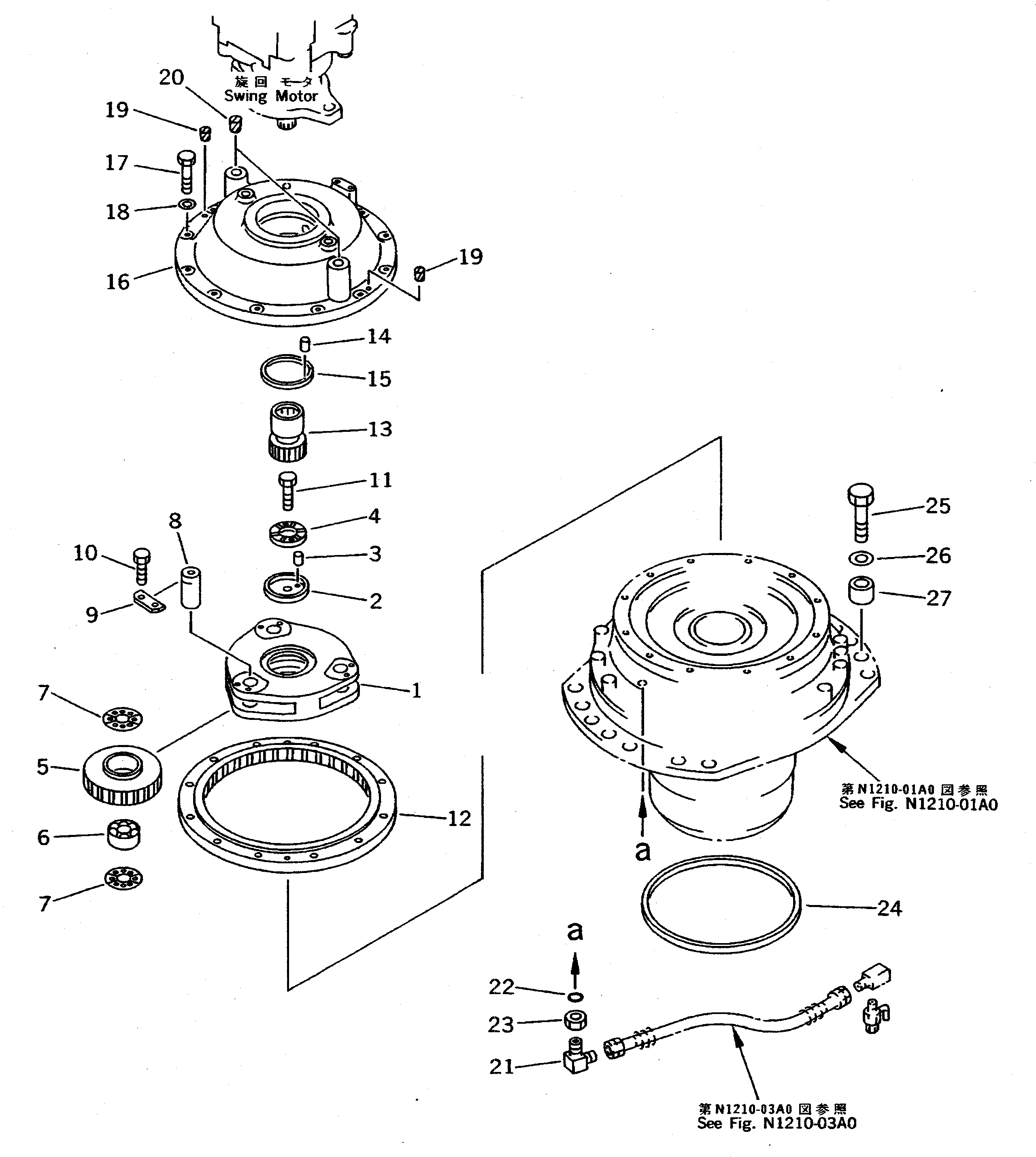
Запчасти Komatsu PC650SE-5 МЕХАНИЗМ ПОВОРОТА (1 НЕСУЩИЙ ЭЛЕМЕНТ) ПОВОРОТН. КРУГ И КОМПОНЕНТЫ

Схема запчастей Komatsu PC650SE-5 - МЕХАНИЗМ ПОВОРОТА (1 НЕСУЩИЙ ЭЛЕМЕНТ) ПОВОРОТН. КРУГ И КОМПОНЕНТЫ
FIT
1:1
100%

Артикул

Название

Примечание

Количество

1

209-26-51190

CARRIER

2

21T-26-11330

HOLDER

3

04020-00616

PIN

4

21T-26-11340

WASHER,THRUST

5

209-26-11190

GEAR

6

21T-26-11380

BEARING

7

21T-26-11390

WASHER,THRUST

8

209-26-51160

PIN

9

21T-26-11420

LOCK

10

01010-51225

BOLT

11

01010-51640

BOLT

12

209-26-51140

GEAR

13

209-26-53162

SHAFT

14

04020-00616

PIN,DOWEL

15

209-26-51230

WASHER,THRUST

16

209-26-53111

COVER

17

01010-51270

BOLT

18

01643-31232

WASHER

19

07049-01215

PLUG

20

07049-03038

PLUG

21

209-62-15830

ELBOW

22

07002-03634

O-RING

23

209-62-15940

NUT

24

21T-26-11281

SEAL

25

01011-83020

BOLT

26

01643-33080

WASHER

27

21T-26-11460

COLLAR

Выбрано товаров: 27