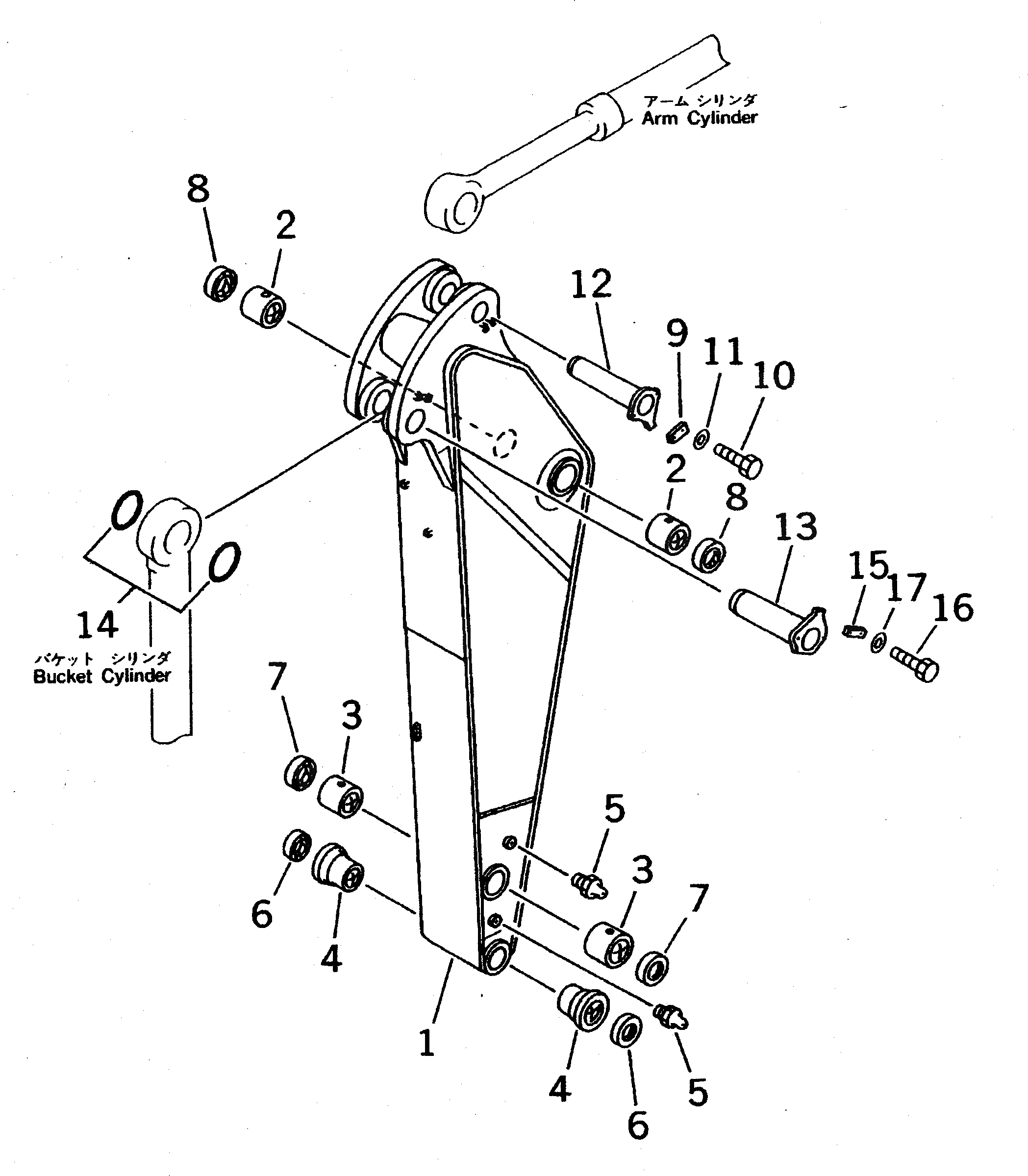
Запчасти Komatsu PC650SE-5 КОРОТК. РУКОЯТЬ (.9M) (ЭКСКАВАТ.)(№79-) РАБОЧЕЕ ОБОРУДОВАНИЕ

Схема запчастей Komatsu PC650SE-5 - КОРОТК. РУКОЯТЬ (.9M) (ЭКСКАВАТ.)(№79-) РАБОЧЕЕ ОБОРУДОВАНИЕ
FIT
1:1
100%

Артикул

Название

Примечание

Количество

|1

209-944-0061

SHORT ARM ASS'Y

1

ARM

2

209-72-11251

BUSHING

3

209-72-53170

BUSHING

4

209-944-5230

BUSHING

5

07020-00000

FITTING

6

209-944-5240

SEAL

7

209-72-12211

SEAL

8

209-72-11261

SEAL

9

207-70-11230

PLATE

10

01010-51640

BOLT

11

01643-31645

WASHER

12

209-72-53180

PIN

13

209-70-57150

PIN

14

07000-12130

O-RING

15

21N-70-11230

PLATE

16

01010-51640

BOLT

17

01643-31645

WASHER

Выбрано товаров: 18