Запчасти Komatsu PC650SE-5 ОСНОВН. КЛАПАН ВОЗВРАТ. ТРУБЫ ГИДРАВЛИКА

Схема запчастей Komatsu PC650SE-5 - ОСНОВН. КЛАПАН ВОЗВРАТ. ТРУБЫ ГИДРАВЛИКА
FIT
1:1
100%

Артикул

Название

Примечание

Количество

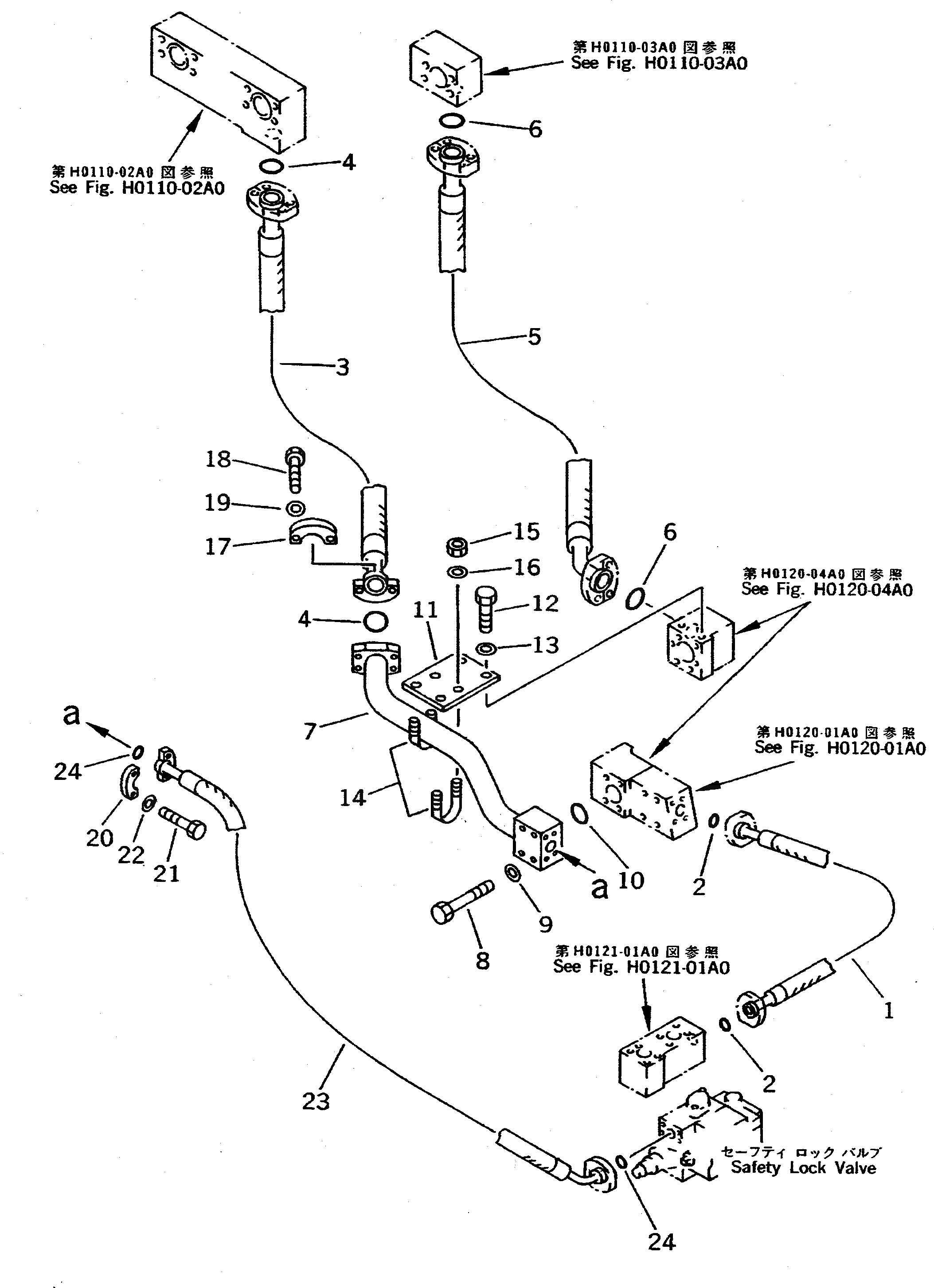
1

209-62-66130

HOSE

2

07000-03038

O-RING

3

07296-01410

HOSE

4

07000-03048

O-RING

5

07297-01410

HOSE

6

07000-03048

O-RING

7

209-62-66231

TUBE

8

01010-51280

BOLT

9

01643-31232

WASHER

10

07000-02055

O-RING

11

209-62-66240

BRACKET

12

01010-51230

BOLT

13

01643-31232

WASHER

14

07283-24949

CLIP

15

01599-01011

NUT

16

01643-31032

WASHER

17

07371-31465

FLANGE

18

07372-21240

BOLT

19

01643-51232

WASHER

20

07371-31049

FLANGE

21

07372-21035

BOLT

22

01643-51032

WASHER

23

07297-01014

HOSE

24

07000-03032

O-RING

Выбрано товаров: 24