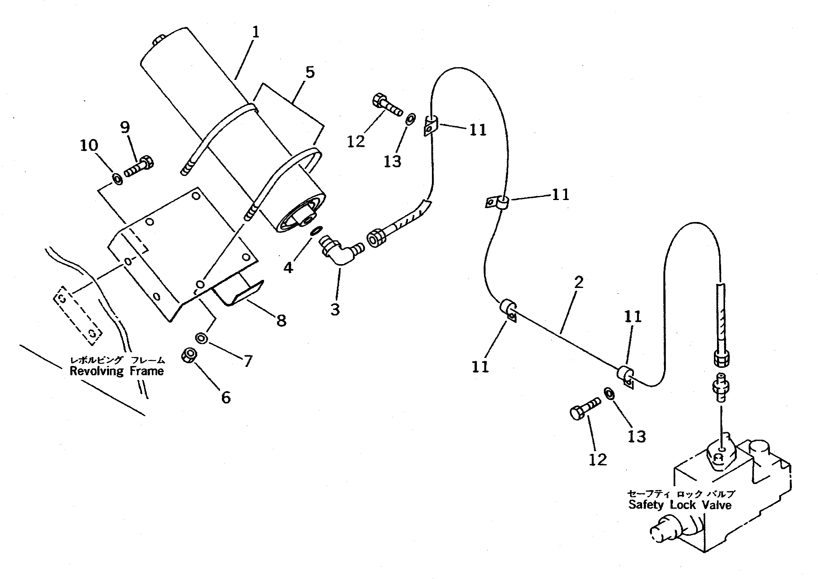
Запчасти Komatsu PC650SE-5 ЛИНИЯ НАСОСА PPC (АККУМУЛЯТОР) ГИДРАВЛИКА

Схема запчастей Komatsu PC650SE-5 - ЛИНИЯ НАСОСА PPC (АККУМУЛЯТОР) ГИДРАВЛИКА
FIT
1:1
100%

Артикул

Название

Примечание

Количество

1

208-60-13111

ACCUMULATOR

2

07102-20325

HOSE

3

07235-10315

ELBOW

4

07002-02034

O-RING

5

07283-21185

CLIP

6

01599-01214

NUT

7

01643-31232

WASHER

8

209-62-67270

BRACKET

9

01010-51225

BOLT

10

01643-31232

WASHER

11

08036-01814

CLIP

12

01010-51225

BOLT

13

01643-31232

WASHER

Выбрано товаров: 0