Запчасти Komatsu PC650SE-5 ОБОГРЕВАТЕЛЬ. (EC СПЕЦ-Я.)(№9-) КАБИНА ОПЕРАТОРА И СИСТЕМА УПРАВЛЕНИЯ

Схема запчастей Komatsu PC650SE-5 - ОБОГРЕВАТЕЛЬ. (EC СПЕЦ-Я.)(№9-) КАБИНА ОПЕРАТОРА И СИСТЕМА УПРАВЛЕНИЯ
FIT
1:1
100%

Артикул

Название

Примечание

Количество

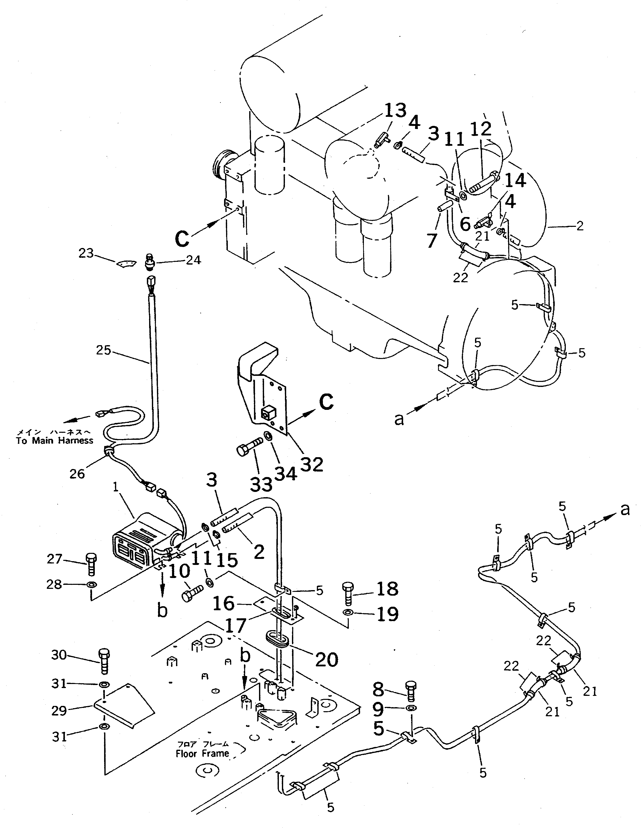
1

205-977-7110

HEATER UNIT

2

09483-00464

HOSE

3

09483-00471

HOSE

4

09480-10100

CLAMP

5

141-06-11220

CLIP

6

140-06-18440

CLIP

7

150-952-8180

SPACER

8

01010-51225

BOLT

9

01643-31232

WASHER

10

01010-51025

BOLT

11

01643-31032

WASHER

12

01010-51085

BOLT

13

202-981-1340

JOINT

14

09482-20000

VALVE

15

09480-10100

CLAMP

16

209-977-5111

PLATE

17

209-979-5250

SEAL

18

01010-51025

BOLT

19

01643-31032

WASHER

20

150-952-7160

GROMMET

21

205-62-53780

COVER

22

08034-00536

BAND

23

209-977-5131

PLATE

24

205-06-71321

SWITCH

25

209-977-6140

WIRING HARNESS

26

22W-06-13590

DIODE

27

01010-51020

BOLT

28

01643-31032

WASHER

29

209-977-6120

COVER

30

01010-51025

BOLT

31

01643-31032

WASHER

32

209-979-6430

COVER

33

01010-51025

BOLT

34

01643-31032

WASHER

Выбрано товаров: 0