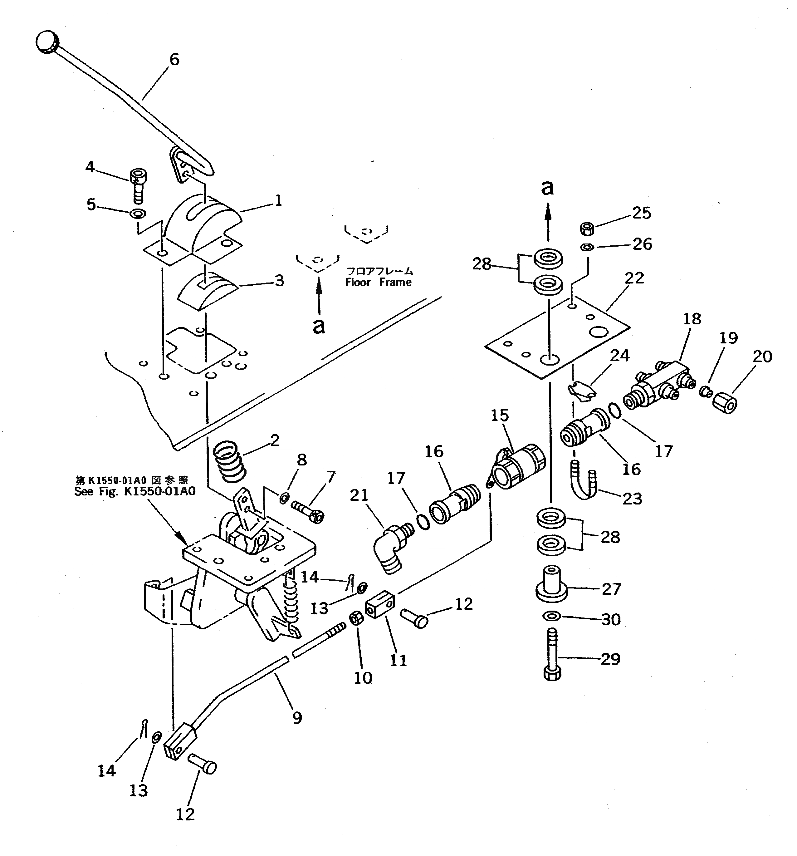
Запчасти Komatsu PC650SE-5 БЕЗОПАСН. БЛОКИР. (КРЫШКАAND КЛАПАН) (СПЕЦ-Я TBG) КАБИНА ОПЕРАТОРА И СИСТЕМА УПРАВЛЕНИЯ

Схема запчастей Komatsu PC650SE-5 - БЕЗОПАСН. БЛОКИР. (КРЫШКАAND КЛАПАН) (СПЕЦ-Я TBG) КАБИНА ОПЕРАТОРА И СИСТЕМА УПРАВЛЕНИЯ
FIT
1:1
100%

Артикул

Название

Примечание

Количество

1

209-43-61590

COVER

2

203-43-51620

SPRING

3

203-43-51590

COVER

4

01252-51020

BOLT

5

01643-31032

WASHER

6

209-43-61580

LEVER

7

01252-51025

BOLT

8

01643-51032

WASHER

9

209-43-61470

ROD

10

01580-11008

NUT

11

205-43-61420

YOKE

12

04205-10618

PIN

13

01641-00608

WASHER

14

04050-11612

PIN

15

209-62-67610

VALVE

16

207-62-32510

ADAPTER

17

07002-02434

O-RING

18

209-62-67630

TEE

19

07222-00312

PLUG

20

07221-20315

NUT

21

07235-10628

ELBOW

22

209-62-67620

PLATE

23

07283-23450

CLIP

24

07283-53444

SEAT

25

01599-01011

NUT

26

01643-31032

WASHER

27

208-62-53530

COLLAR

28

208-62-53540

CUSHION

29

01010-51270

BOLT

30

01643-31232

WASHER

Выбрано товаров: 30