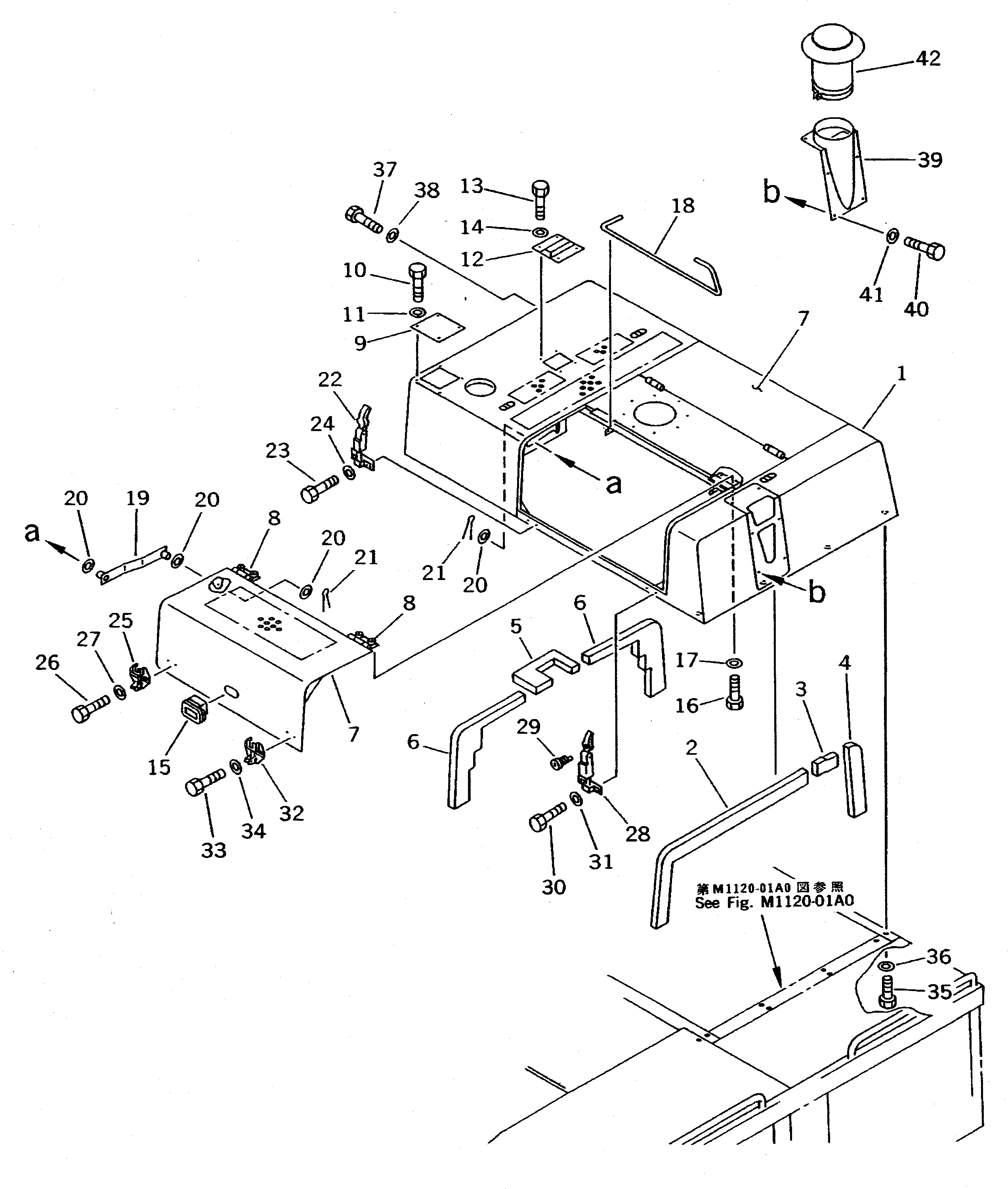
Запчасти Komatsu PC650SE-5 КАПОТ (АНТИВАНДАЛЬН.) (ДЛЯ ЗАПЫЛЕНН. РАЙОНОВ) (КРОМЕ ЯПОН.) ЧАСТИ КОРПУСА

Схема запчастей Komatsu PC650SE-5 - КАПОТ (АНТИВАНДАЛЬН.) (ДЛЯ ЗАПЫЛЕНН. РАЙОНОВ) (КРОМЕ ЯПОН.) ЧАСТИ КОРПУСА
FIT
1:1
100%

Артикул

Название

Примечание

Количество

1

209-54-53180

HOOD A.

1

209-54-57361

HOOD

2

209-54-56180

SEAL

3

209-54-56190

SEAL

4

209-54-56210

SEAL

5

209-54-56441

SEAL

6

209-54-56451

SEAL

7

209-54-53121

COVER

8

205-54-64160

HINGE (WELDED)

9

209-54-53140

COVER

10

01010-51230

BOLT

11

01643-31232

WASHER

12

209-54-53131

COVER

13

01010-51220

BOLT

14

01643-31232

WASHER

15

209-54-12280

HANDLE

16

01010-51230

BOLT

17

01643-31232

WASHER

18

208-54-12210

BAR,TORSION

19

209-54-53151

STAY

20

01643-31645

WASHER

21

04050-14028

PIN

22

205-54-76530

CATCHER

23

01010-50825

BOLT

24

01643-30823

WASHER

25

205-54-67660

SUPPORT

26

01010-50825

BOLT

27

01643-30823

WASHER

28

205-54-76260

CATCHER

29

205-54-76280

ROTOR ASS'Y

30

01010-50825

BOLT

31

01643-30823

WASHER

32

205-54-67660

SUPPORT

33

01010-50825

BOLT

34

01643-30823

WASHER

35

01010-51230

BOLT

36

01643-31232

WASHER

37

01010-51230

BOLT

38

01643-31232

WASHER

39

209-01-51251

PIPE,EXTENSION

40

01010-51225

BOLT

41

01643-31232

WASHER

42

600-181-4950

HOOD

Выбрано товаров: 43