Качественные детали и логистика
Оригинальные и аналоговые запчасти с доставкой по России, Казахстану и Беларуси
©2022 PartSell ООО "Система" ИНН 2463123282 ОГРН 1212400004838
Центральный офис: г. Красноярск, Академика Киренского, д.87, пом.4
Телефон: 8 (800) 777-65-74 Email: zakaz@partsell.ru
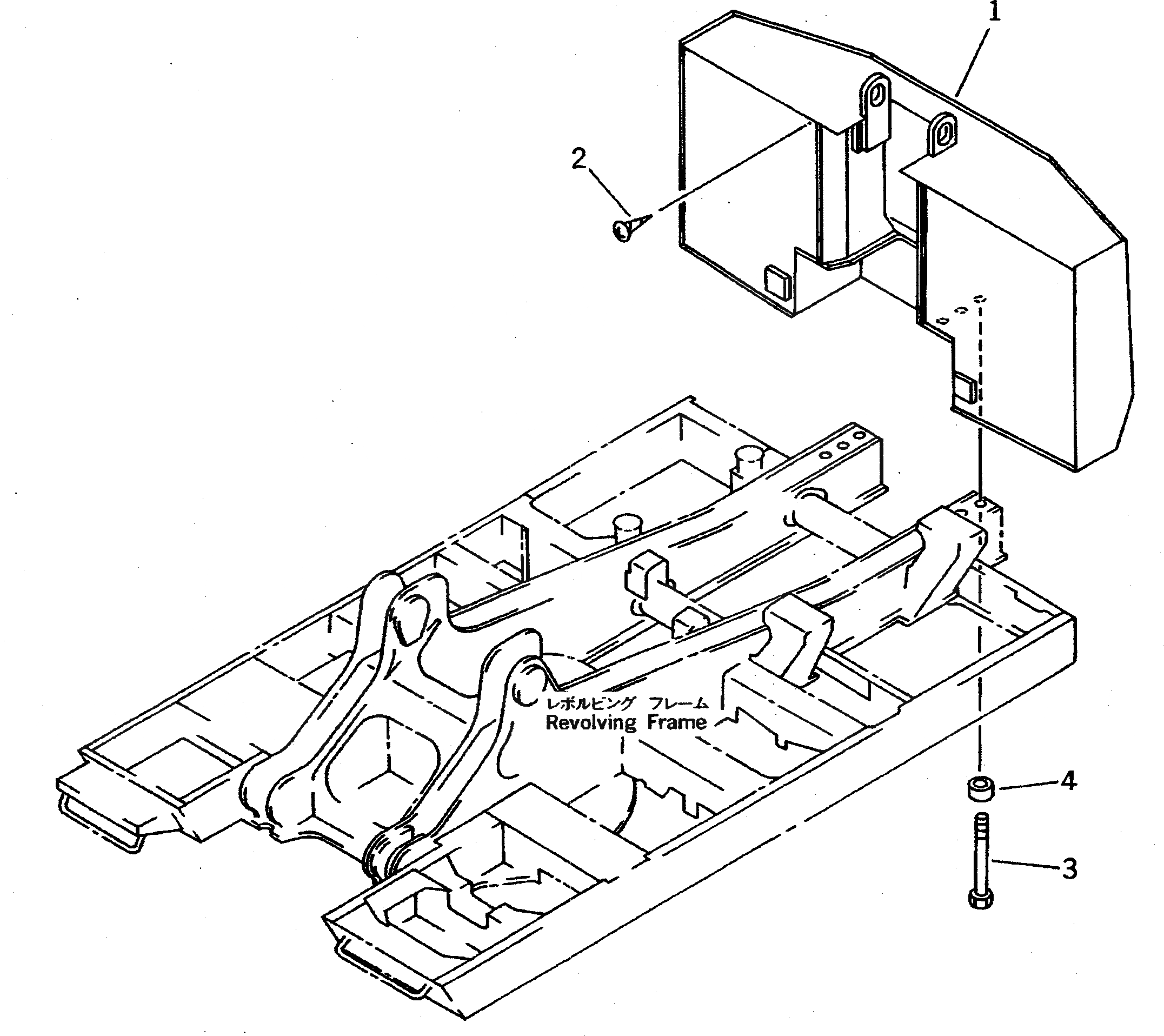
ПРОТИВОВЕС (СО СЪЕМОМ ПРОТИВОВЕСА)
№
Артикул
Название
Примечание
Количество
1
209-46-51620
WEIGHT
2
01370-00508
SCREW
3
209-09-51170
BOLT
4
209-46-11210
SPACER
Выбрано товаров: 0