Запчасти Komatsu PC650SE-5 КОРОТК. СТРЕЛА (7.M) (ЭКСКАВАТ.)(№79-) РАБОЧЕЕ ОБОРУДОВАНИЕ

Схема запчастей Komatsu PC650SE-5 - КОРОТК. СТРЕЛА (7.M) (ЭКСКАВАТ.)(№79-) РАБОЧЕЕ ОБОРУДОВАНИЕ
FIT
1:1
100%

Артикул

Название

Примечание

Количество

|$2

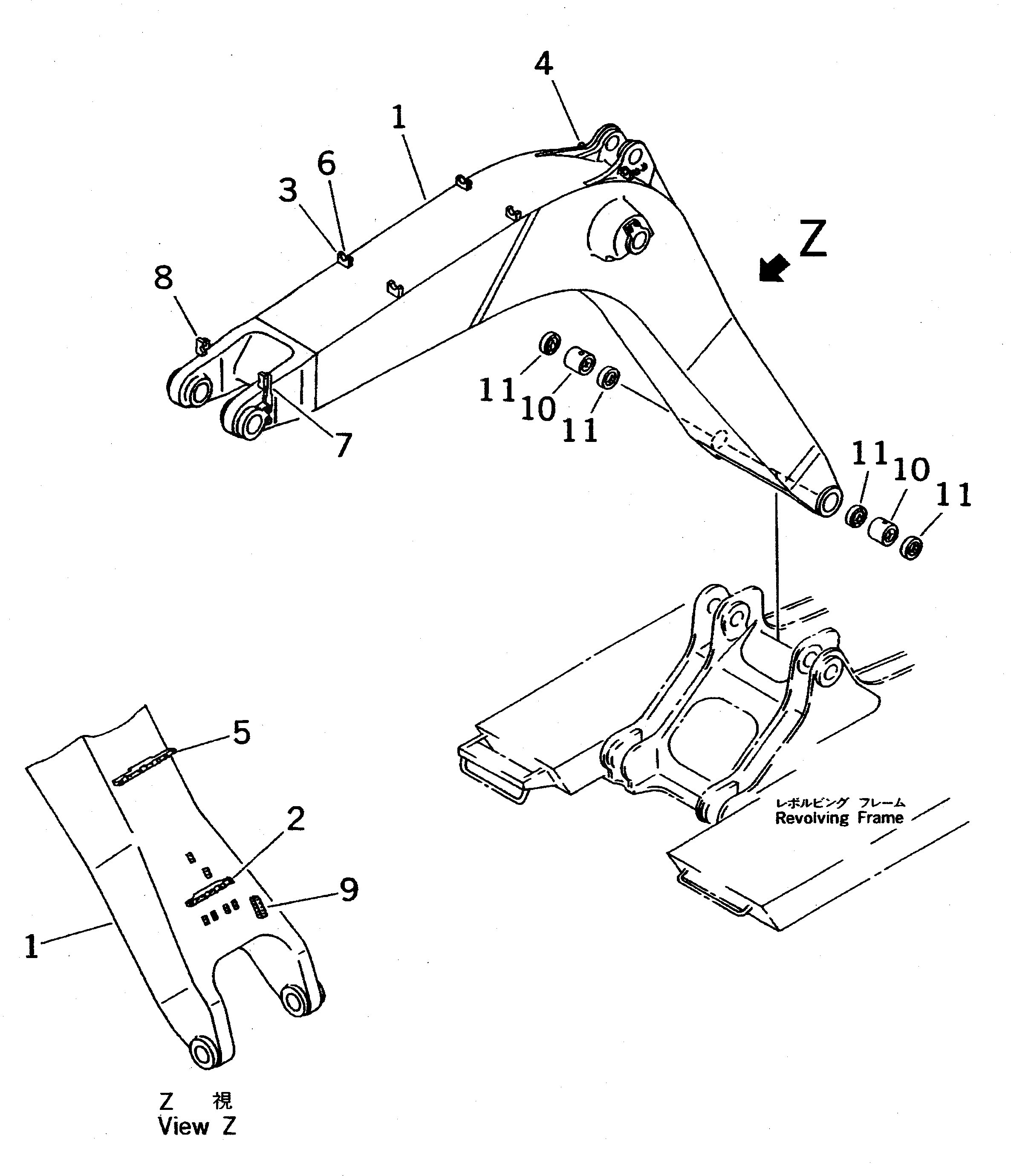
209-942-0060

SHORT BOOM ASS'Y

1

BOOM

2

209-62-58210

CLAMP (WELDED)

3

209-62-58350

CLAMP (WELDED)

4

209-62-59190

CLAMP (WELDED)

5

209-62-58510

CLAMP (WELDED)

6

209-62-58520

SEAT (WELDED)

7

209-62-68210

BRACKET,L.H. (WELDED)

8

209-62-68220

BRACKET,R.H. (WELDED)

9

209-70-57170

SEAT (WELDED)

10

209-70-51190

BUSHING

11

209-72-11261

SEAL

Выбрано товаров: 12