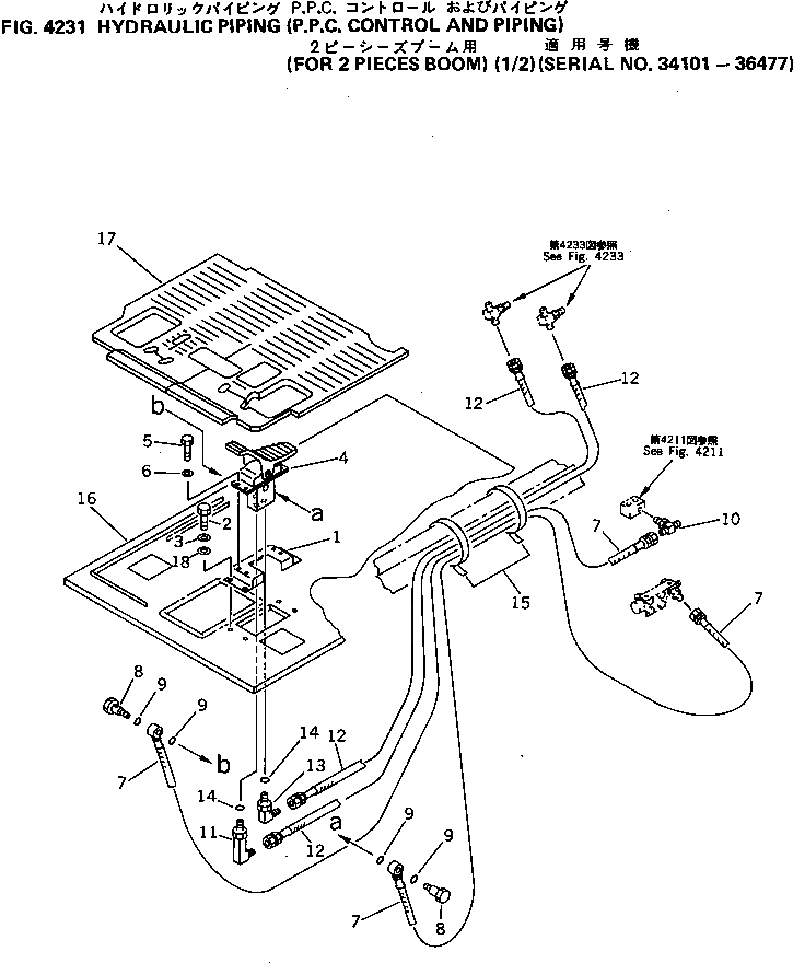
Запчасти Komatsu PC70-6 ГИДРОЛИНИЯ (P.P.C. УПРАВЛ-Е И ТРУБЫ) (/)(ДЛЯ -ЧАСТИS СТРЕЛА)(№-77) СИСТЕМА УПРАВЛЕНИЯ И ОСНОВНАЯ РАМА

Схема запчастей Komatsu PC70-6 - ГИДРОЛИНИЯ (P.P.C. УПРАВЛ-Е И ТРУБЫ) (/)        (ДЛЯ -ЧАСТИS СТРЕЛА)(№-77) СИСТЕМА УПРАВЛЕНИЯ И ОСНОВНАЯ РАМА
FIT
1:1
100%

Артикул

Название

Примечание

Количество

1

20Y-970-1721

BRACKET

2

01010-51025

BOLT

3

01643-31032

WASHER

4

20Y-970-1711

PEDAL ASS'Y,CONTROL

5

01010-50820

BOLT

6

01643-30823

WASHER

7

201-946-2410

HOSE

8

706-46-56290

BOLT,EYE

9

07000-02018

O-RING

10

208-26-11611

TEE

11

208-62-18190

ELBOW

12

07102-20218

HOSE

13

07235-10210

ELBOW

14

07002-01423

O-RING

15

08034-00834

BAND

16

201-946-2432

FRAME,FLOOR

17

201-946-2480

MAT,FLOOR

18

01641-21016

WASHER

Выбрано товаров: 18