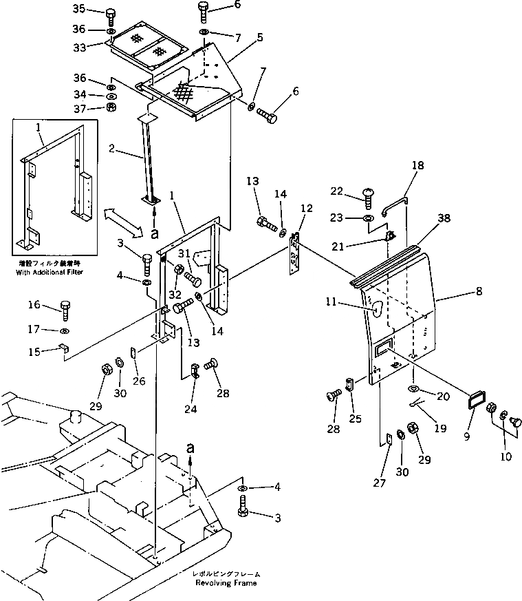
Запчасти Komatsu PC70-6 ЛЕВ. COVER ЧАСТИ КОРПУСА

Схема запчастей Komatsu PC70-6 - ЛЕВ. COVER ЧАСТИ КОРПУСА
FIT
1:1
100%

Артикул

Название

Примечание

Количество

1

201-54-61492

BRACKET

2

201-54-61451

BRACKET

3

01010-51025

BOLT

4

01643-31032

WASHER

5

201-54-61442

COVER

6

01010-51025

BOLT

7

01643-31032

WASHER

8

201-54-62481

COVER ASS'Y

9

421-54-11372

LOCK ASS'Y (WELDED)

10

421-54-11381

LOCK

11

201-54-62542

SHEET

12

203-54-52412

HINGE

13

01010-51225

BOLT

14

01643-31232

WASHER

15

203-54-52620

PLATE

16

01010-51025

BOLT

17

01643-31032

WASHER

18

201-54-61220

BAR

19

04050-13018

PIN,COTTER

20

01641-21016

WASHER

21

20B-54-12210

SPRING

22

01220-40406

SCREW

23

01641-20405

WASHER

24

566-54-13410

STRIKER

25

566-54-14420

STOPPER

26

203-54-56790

PLATE

27

203-54-52610

PLATE

28

01225-40820

SCREW

29

01580-10806

NUT

30

566-54-13570

WASHER

31

20Y-54-11611

STOPPER

32

01580-11008

NUT

33

201-54-64211

NET,(FOR DIRT PROTECTION)

34

203-54-56970

WASHER,(FOR DIRT PROTECTION)

35

01010-50825

BOLT,(FOR DIRT PROTECTION)

36

01643-30823

WASHER,(FOR DIRT PROTECTION)

37

01580-10806

NUT,(FOR DIRT PROTECTION)

38

09412-10006

SEAL,(FOR DIRT PROTECTION)

Выбрано товаров: 0