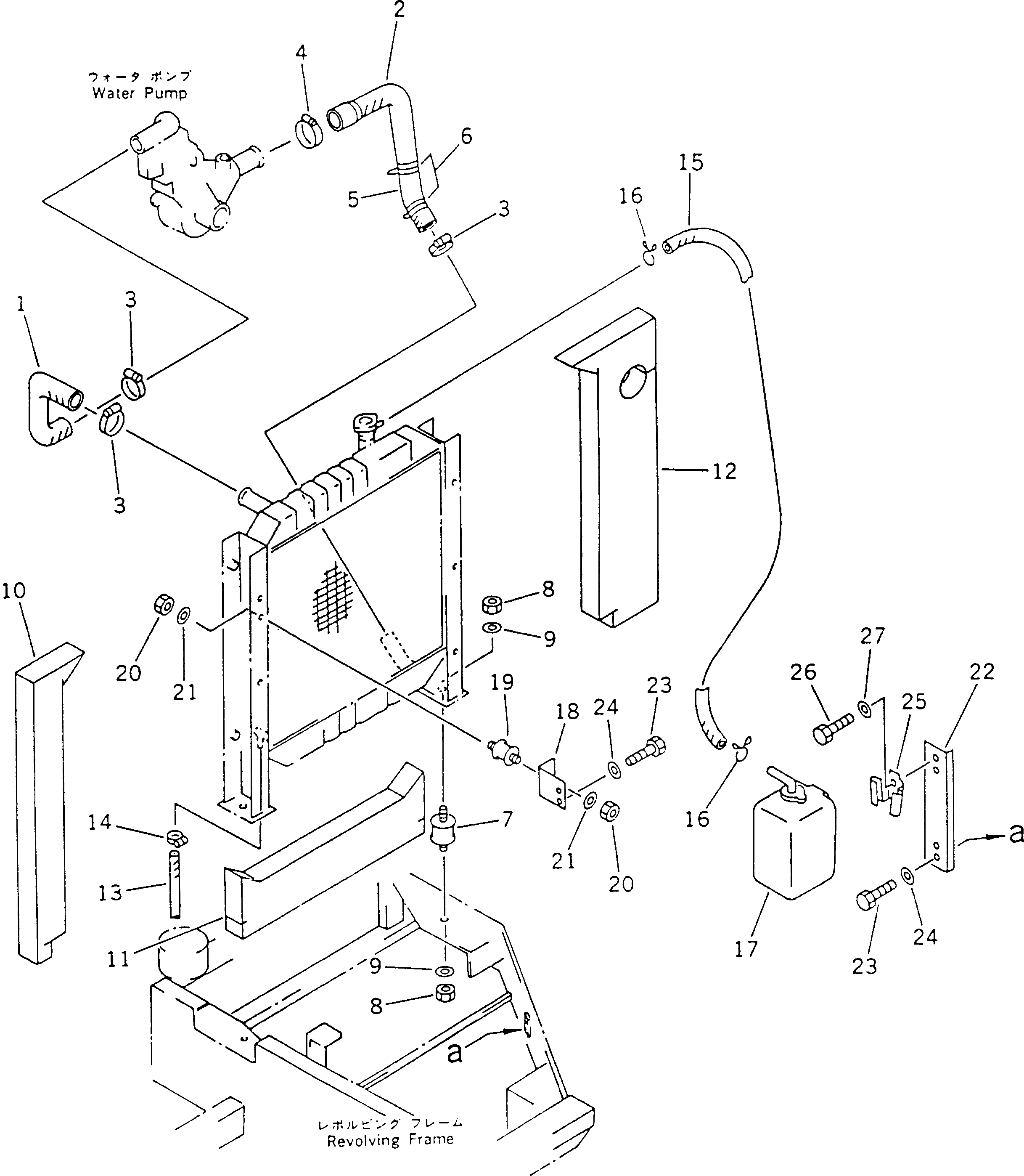
Запчасти Komatsu PC70-6 КРЕПЛЕНИЕ РАДИАТОРА И ТРУБЫ КОМПОНЕНТЫ ДВИГАТЕЛЯ И ЭЛЕКТРИКА

Схема запчастей Komatsu PC70-6 - КРЕПЛЕНИЕ РАДИАТОРА И ТРУБЫ КОМПОНЕНТЫ ДВИГАТЕЛЯ И ЭЛЕКТРИКА
FIT
1:1
100%

Артикул

Название

Примечание

Количество

1

21W-978-1410

HOSE

2

201-03-61210

HOSE

3

207-09-11110

CLAMP

4

208-09-11110

CLAMP

5

201-03-51320

SEAT

6

08034-00823

BAND

7

20S-03-11330

CUSHION

8

01580-11008

NUT

9

01643-31032

WASHER

10

201-03-61240

SHEET

11

201-03-61160

SHEET

12

201-03-61181

SHEET

13

205-03-62650

HOSE

14

07280-01010

CLAMP

15

23S-03-11140

HOSE

|15

203-03-41262

HOSE,(FOR ADDITIONAL FILTER)

16

206-03-43340

CLIP

17

362-03-14110

TANK

|17

362-03-31160

CAP

18

201-03-61230

PLATE

19

20R-03-11190

CUSHION

20

01580-10806

NUT

21

01643-30823

WASHER

22

201-03-61320

PLATE

23

01010-51020

BOLT

24

01643-31032

WASHER

25

362-03-14120

BRACKET

26

01010-50616

BOLT

27

01643-30623

WASHER

Выбрано товаров: 29