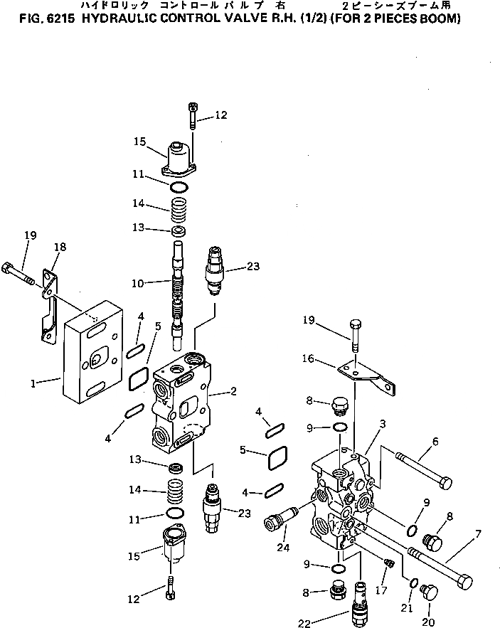
Запчасти Komatsu PC70-6 ГИДРАВЛ УПРАВЛЯЮЩ. КЛАПАН (/) (ДЛЯ -ЧАСТИS СТРЕЛА) УПРАВЛ-Е РАБОЧИМ ОБОРУДОВАНИЕМ

Схема запчастей Komatsu PC70-6 - ГИДРАВЛ УПРАВЛЯЮЩ. КЛАПАН (/) (ДЛЯ -ЧАСТИS СТРЕЛА) УПРАВЛ-Е РАБОЧИМ ОБОРУДОВАНИЕМ
FIT
1:1
100%

Артикул

Название

Примечание

Количество

|1

700-81-38001

VALVE ASS'Y

1

BLOCK

2

BLOCK,VALVE

3

COVER,VALVE

4

07000-03030

O-RING

5

07000-13050

O-RING

6

700-83-11212

BOLT

7

700-83-11510

BOLT

8

709-84-91860

PLUG

9

07002-12434

O-RING

10

SPOOL

11

700-84-11240

O-RING

12

01252-30616

BOLT

13

700-84-13781

RETAINER

14

700-84-15740

SPRING

15

700-84-12510

CASE

16

700-84-16410

BRACKET

17

07043-70108

PLUG

18

700-84-11330

BRACKET

19

01010-51020

BOLT

20

07040-11409

PLUG

21

07002-01423

O-RING

22

709-70-55300

VALVE ASS'Y,RELIEF

23

709-70-71600

VALVE ASS'Y,SUCTION AND SAFETY

24

709-70-91300

ORIFICE ASS'Y

Выбрано товаров: 25