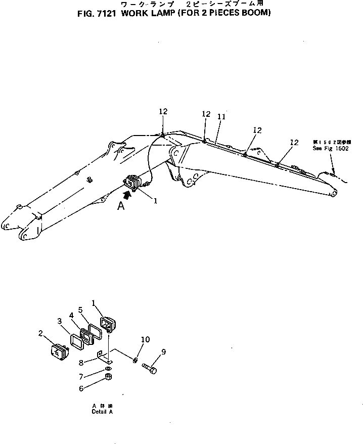
Запчасти Komatsu PC70-6 РАБОЧ. ОСВЕЩЕНИЕ (ДЛЯ -ЧАСТИS СТРЕЛА) РАБОЧЕЕ ОБОРУДОВАНИЕ

Схема запчастей Komatsu PC70-6 - РАБОЧ. ОСВЕЩЕНИЕ (ДЛЯ -ЧАСТИS СТРЕЛА) РАБОЧЕЕ ОБОРУДОВАНИЕ
FIT
1:1
100%

Артикул

Название

Примечание

Количество

|$0

203-06-56140

LAMP ASS'Y

1

HOUSING

2

22W-06-12170

BULB

3

203-06-56180

RING

4

22W-06-12290

CUSHION

5

203-06-56190

RING

6

01582-11411

NUT

7

01643-31445

WASHER

8

203-06-56410

BRACKET

9

01010-51430

BOLT

10

01643-31445

WASHER

11

201-946-2330

WIRE

12

203-06-56570

BAND

Выбрано товаров: 13