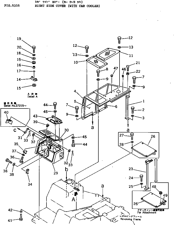
Запчасти Komatsu PC70-6 ПРАВ. КРЫШКА(С CAR ОХЛАДИТЕЛЬ) ЧАСТИ КОРПУСА

Схема запчастей Komatsu PC70-6 - ПРАВ. КРЫШКА(С CAR ОХЛАДИТЕЛЬ) ЧАСТИ КОРПУСА
FIT
1:1
100%

Артикул

Название

Примечание

Количество

1

201-54-61120

BRACKET

2

01010-51030

BOLT

3

01643-31032

WASHER

4

201-54-62431

COVER ASS'Y

5

201-54-62261

SHEET

6

201-54-62270

SHEET

7

01010-51020

BOLT

8

01010-51045

BOLT

9

01643-31032

WASHER

10

201-54-61622

COVER

11

201-54-62161

COVER

12

01010-51025

BOLT

13

01643-31032

WASHER

14

201-54-62170

PLATE

15

203-62-42770

CUSHION

16

20X-62-21550

SPACER

17

07000-03025

O-RING

18

566-35-42430

PLATE

19

01010-51250

BOLT

20

01643-31232

WASHER

21

203-54-56710

STOPPER

22

01580-11008

NUT

23

201-54-62180

BRACKET

24

01010-51025

BOLT

25

01643-31032

WASHER

26

201-54-61461

COVER

26

201-973-65670

COVER,(FOR ATTACHMENT)

27

01010-51025

BOLT

28

01643-31032

WASHER

|$29

201-978-6202

COVER ASS'Y

|$30

201-978-6201

COVER ASS'Y

29

COVER

29

COVER

30

COVER

31

203-54-56630

ROD

32

01643-30623

WASHER

33

04050-11612

PIN,COTTER

34

203-54-56640

BRACKET

35

203-54-56820

CLAMP

36

01010-51020

BOLT

37

01643-31032

WASHER

38

01640-21016

WASHER

39

205-60-71220

LOCK ASS'Y

40

201-978-6680

PLATE

41

01010-51025

BOLT

42

01643-31032

WASHER

43

201-978-6340

COVER

44

01010-50816

BOLT

45

01643-30823

WASHER

46

07049-01215

PLUG

47

09415-01008

CAP

48

08037-02512

GROMMET,(FOR ATTACHMENT)

49

201-00-61290

PLATE, MARK,(FOR ATTACHMENT)

Выбрано товаров: 0