Запчасти Komatsu PC70-6S КОМПОНЕНТЫ ДВИГАТЕЛЯ КОМПОНЕНТЫ ДВИГАТЕЛЯ И ЭЛЕКТРИКА

Схема запчастей Komatsu PC70-6S - КОМПОНЕНТЫ ДВИГАТЕЛЯ КОМПОНЕНТЫ ДВИГАТЕЛЯ И ЭЛЕКТРИКА
FIT
1:1
100%

Артикул

Название

Примечание

Количество

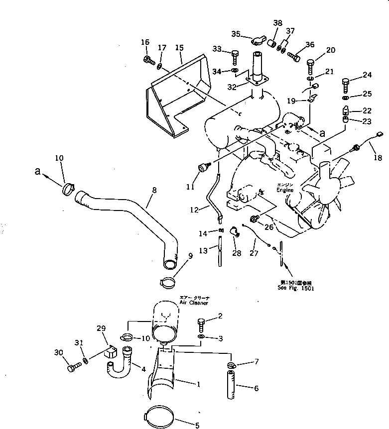
1

201-01-64210

BRACKET

2

01010-51020

BOLT

3

01643-31032

WASHER

4

201-01-64230

HOSE

5

07281-02169

CLAMP

6

201-01-62230

HOSE

7

07281-00489

CLAMP

8

201-01-64220

HOSE

9

07281-00809

CLAMP

10

07281-00909

CLAMP

11

08670-02001

INDICATOR,DUST

12

6204-13-5410

TUBE

13

07260-20932

HOSE

14

07285-00150

CLIP

15

201-01-62181

COVER

16

01010-51020

BOLT

17

203-54-56970

WASHER

18

7861-92-3320

SENSOR,ENGINE WATER TEMP.

19

201-06-62160

BRACKET

20

01010-50610

BOLT

21

01602-20619

WASHER,SPRING

22

08053-01512

CLIP

23

195-33-11220

SPACER

24

01010-51045

BOLT

25

01643-31032

WASHER

26

08073-00505

SWITCH

27

20X-06-21260

WIRE

28

08038-10519

CAP

29

201-01-64260

COVER

30

01010-51020

BOLT

31

01643-31032

WASHER

32

201-01-64240

PIPE,EXHAUST

33

01010-51225

BOLT

34

124-54-26540

WASHER

35

201-01-64250

CAP,RAIN

36

01010-50840

BOLT

|36

01010-20816

BOLT

37

01643-30823

WASHER

38

201-01-64290

COLLAR

Выбрано товаров: 39