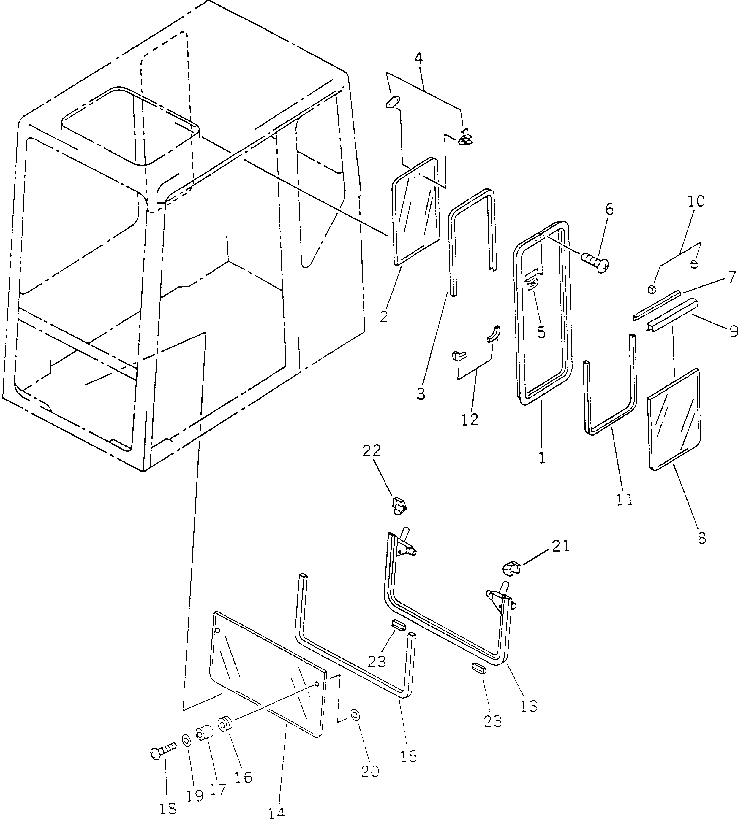
Запчасти Komatsu PC70-6S КАБИНА (/7) (ПЕРЕДН. И ПРАВ. БОКОВ. ОКНА) ЧАСТИ КОРПУСА

Схема запчастей Komatsu PC70-6S - КАБИНА (/7) (ПЕРЕДН. И ПРАВ. БОКОВ. ОКНА) ЧАСТИ КОРПУСА
FIT
1:1
100%

Артикул

Название

Примечание

Количество

|1

20Y-54-00015

OPERATOR'S CAB ASS'Y

|1

20Y-54-13201

SASH ASS'Y

1

SASH

2

20Y-54-13230

GLASS

3

SEAL

4

20Y-54-13321

LOCK ASS'Y

5

HOOK

6

SCREW

7

SEAL

8

20Y-54-13220

GLASS

9

SASH

10

SEAL

11

LINER

12

STOPPER

13

20Y-54-11841

FRAME

|13

20Y-54-11860

LATCH,L.H.

|13

20Y-54-11870

LATCH,R.H.

14

20Y-54-11321

GLASS

15

20Y-54-11430

WEATHER STRIP

16

08037-01610

GROMMET

17

20Y-54-14340

COLLAR

18

01225-70830

SCREW

19

20Y-54-14330

WASHER

20

01643-31645

WASHER

21

20Y-54-11471

SEAL

22

20Y-54-11481

SEAL

23

20Y-54-14550

SEAT

Выбрано товаров: 27