Качественные детали и логистика
Оригинальные и аналоговые запчасти с доставкой по России, Казахстану и Беларуси
©2022 PartSell ООО "Система" ИНН 2463123282 ОГРН 1212400004838
Центральный офис: г. Красноярск, Академика Киренского, д.87, пом.4
Телефон: 8 (800) 777-65-74 Email: zakaz@partsell.ru
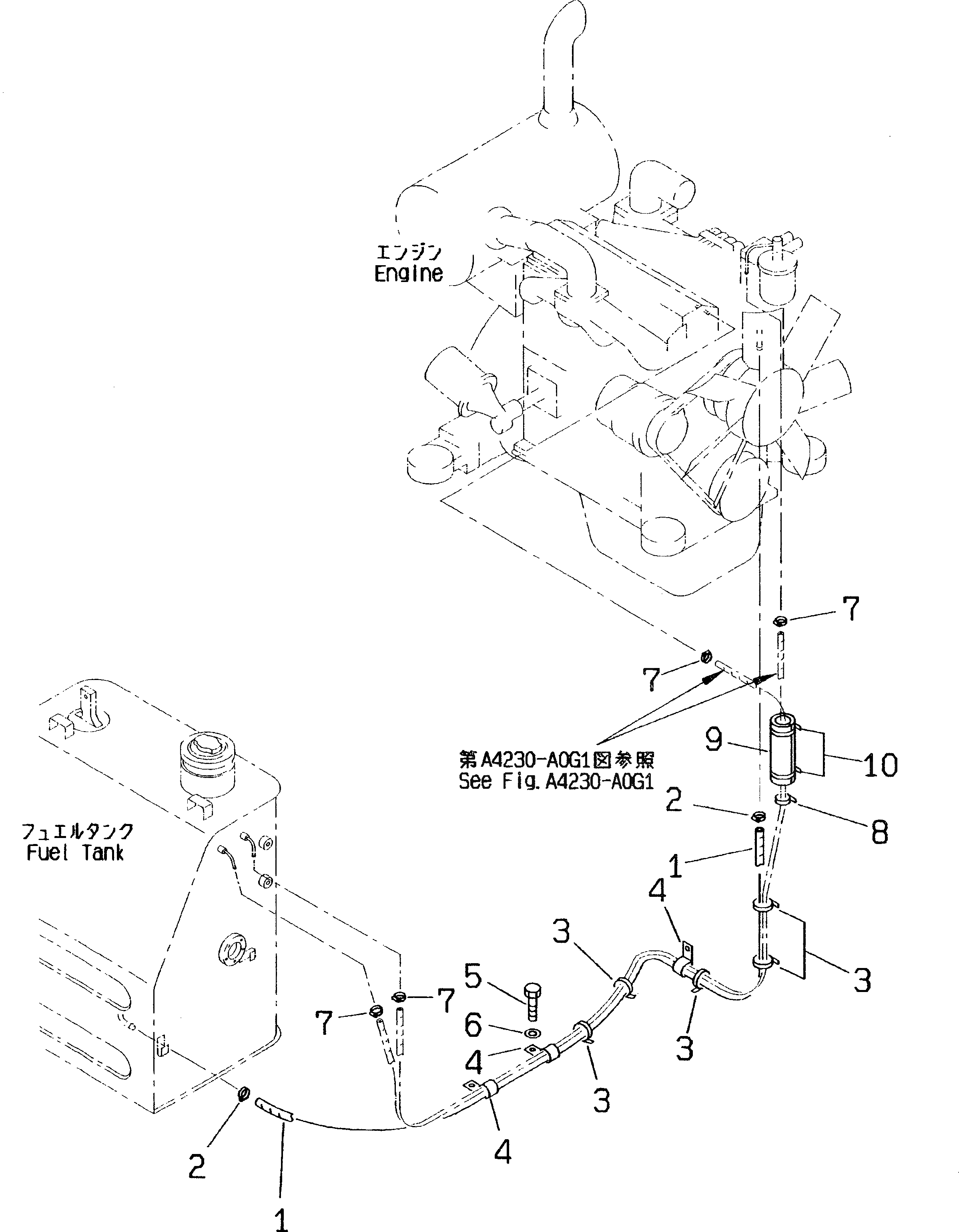
ТОПЛИВН. ЛИНИЯ(№-7)
№
Артикул
Название
Примечание
Количество
1
07288-01019
HOSE
2
07281-00197
CLAMP
3
08034-00519
BAND
4
08036-02514
CLIP
5
01010-51025
BOLT
6
01643-31032
WASHER
7
07285-00085
8
08034-30521
9
203-62-41150
COVER
10
08034-00823
Выбрано товаров: 0