Запчасти Komatsu PC70-7-B ЭЛЕКТРОПРОВОДКА (ДВИГАТЕЛЬ)(№-7) ЭЛЕКТРИКА

Схема запчастей Komatsu PC70-7-B - ЭЛЕКТРОПРОВОДКА (ДВИГАТЕЛЬ)(№-7) ЭЛЕКТРИКА
FIT
1:1
100%

Артикул

Название

Примечание

Количество

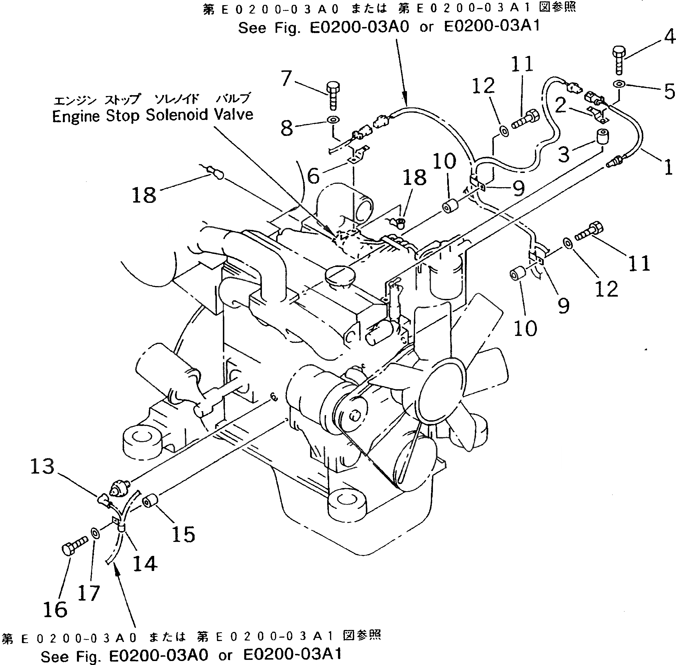
1

7861-92-3320

SENSOR,ENGINE WATER TEMPERATURE

2

08053-01512

CLIP

3

195-33-11220

SPACER

4

01010-51045

BOLT

5

01643-31032

WASHER

6

201-06-62160

BRACKET

7

01010-50610

BOLT

8

01602-20619

WASHER

9

08036-11214

CLIP

10

195-33-11220

SPACER

11

01010-51045

BOLT

12

01643-31032

WASHER

13

08038-00519

CAP

14

08036-01014

CLIP

15

195-33-11220

SPACER

16

01010-51045

BOLT

17

01643-31032

WASHER

18

08038-00519

CAP

Выбрано товаров: 0