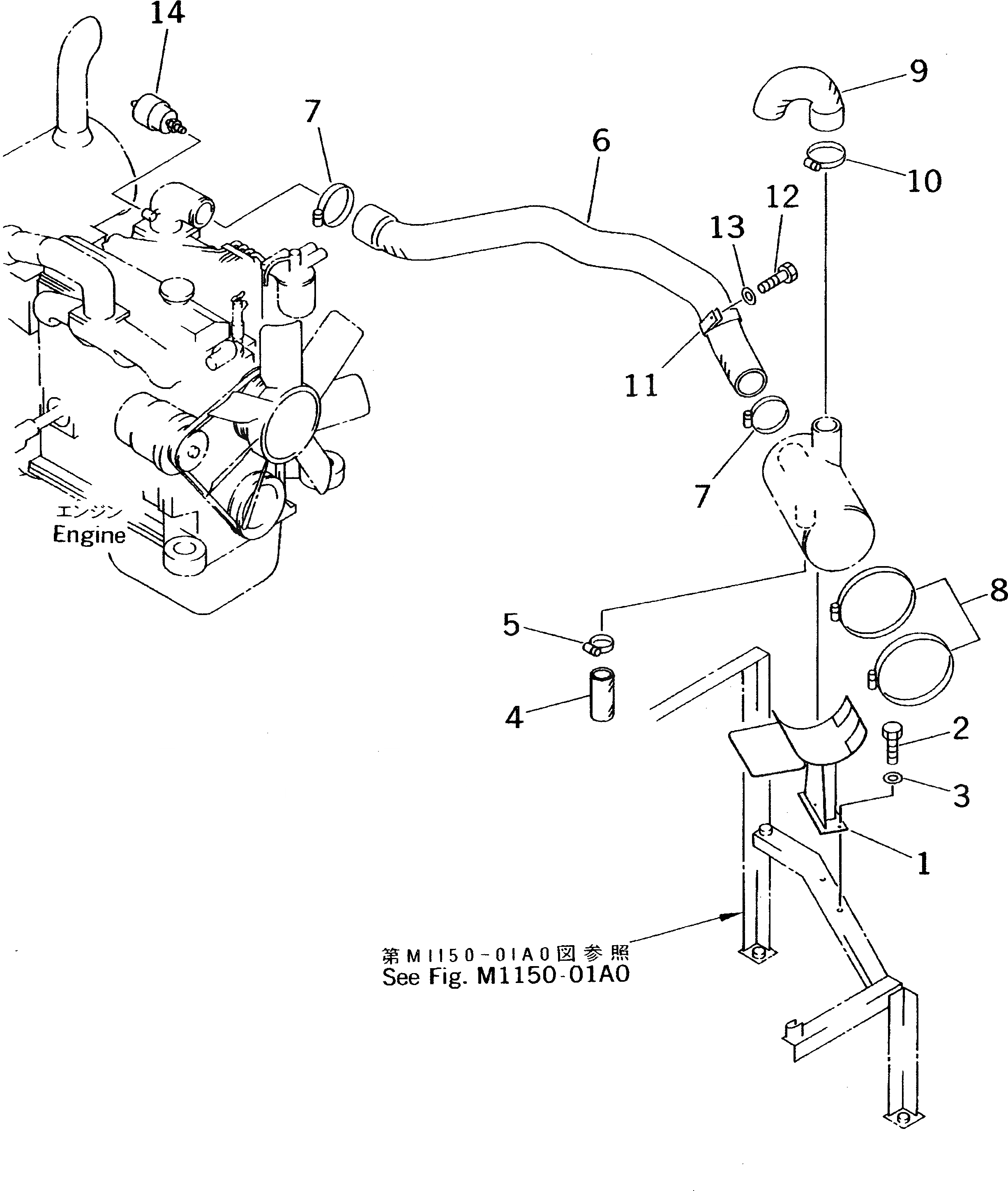
Запчасти Komatsu PC70-7-B ВОЗДУХООЧИСТИТЕЛЬ КРЕПЛЕНИЕ ( INCH)(№-7) КОМПОНЕНТЫ ДВИГАТЕЛЯ

Схема запчастей Komatsu PC70-7-B - ВОЗДУХООЧИСТИТЕЛЬ КРЕПЛЕНИЕ ( INCH)(№-7) КОМПОНЕНТЫ ДВИГАТЕЛЯ
FIT
1:1
100%

Артикул

Название

Примечание

Количество

1

201-01-71331

BRACKET

2

01010-51025

BOLT

3

01643-31032

WASHER

4

201-01-62230

HOSE

5

07281-00489

CLAMP

6

201-01-71460

HOSE

7

07289-00070

CLAMP

|7

07281-00809

CLAMP

8

07281-01589

CLAMP

9

201-01-71340

HOSE

10

07281-00809

CLAMP

11

208-62-38410

CLIP

12

01010-51025

BOLT

13

01643-31032

WASHER

14

08670-02001

INDICATOR,DUST

Выбрано товаров: 15