Запчасти Komatsu PC70-7 ОПОРНЫЙ КАТОК(№7-) ХОДОВАЯ

Схема запчастей Komatsu PC70-7 - ОПОРНЫЙ КАТОК(№7-) ХОДОВАЯ
FIT
1:1
100%

Артикул

Название

Примечание

Количество

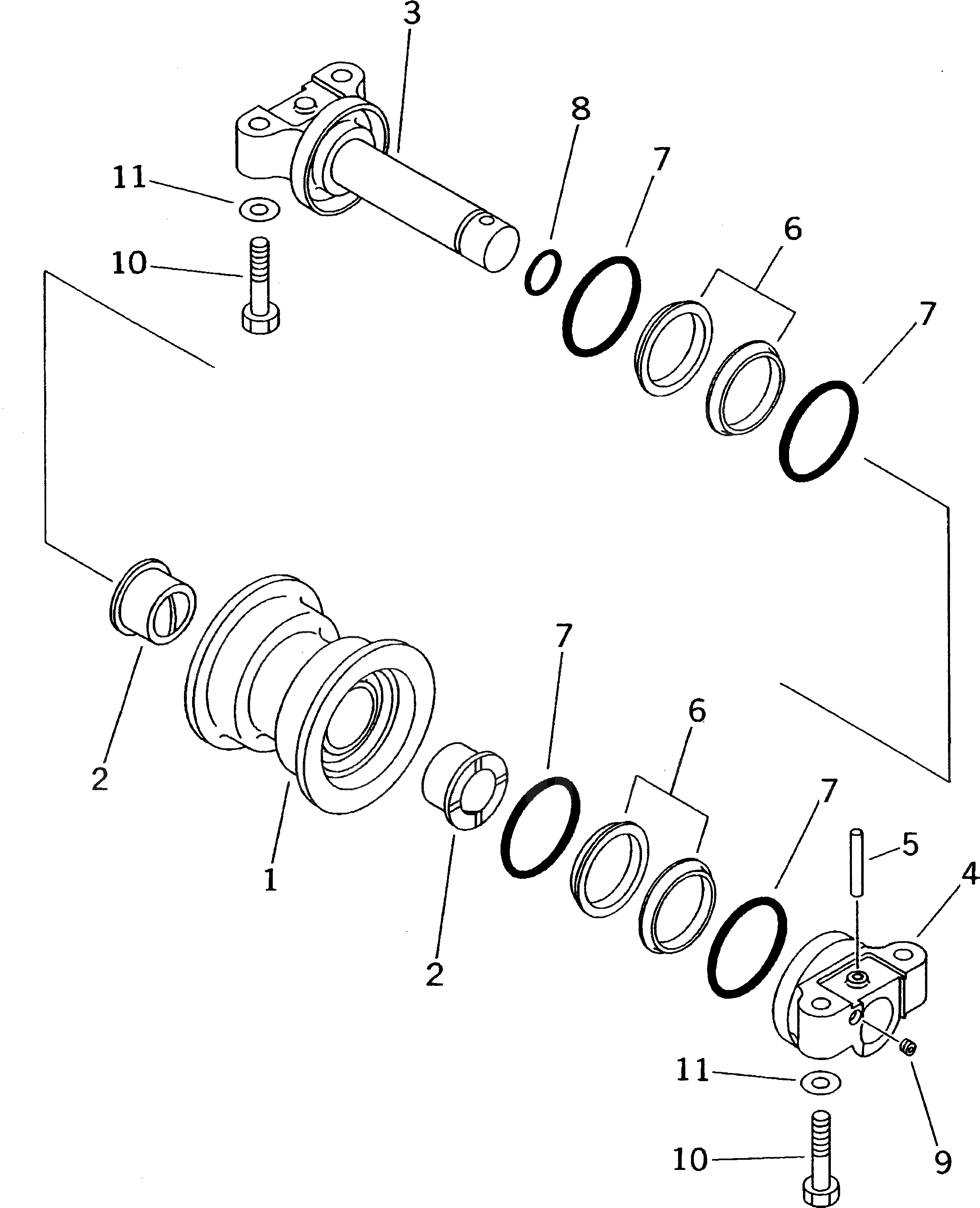
|1

201-30-00210

TRACK ROLLER ASS'Y

1

201-30-72110

ROLLER

2

201-30-72140

BUSHING

3

201-30-72120

SHAFT

4

201-30-72160

COLLAR

5

201-30-54150

PIN

|6

201-30-00200

FLOATING SEAL ASS'Y

6

201-30-00220

SEAL RING ASS'Y

|6

RING

7

201-30-00230

O-RING ASS'Y

|7

O-RING

8

07000-03032

O-RING

9

07043-50108

PLUG

10

01010-51465

BOLT

11

01643-31445

WASHER

Выбрано товаров: 15