Качественные детали и логистика
Оригинальные и аналоговые запчасти с доставкой по России, Казахстану и Беларуси
©2022 PartSell ООО "Система" ИНН 2463123282 ОГРН 1212400004838
Центральный офис: г. Красноярск, Академика Киренского, д.87, пом.4
Телефон: 8 (800) 777-65-74 Email: zakaz@partsell.ru
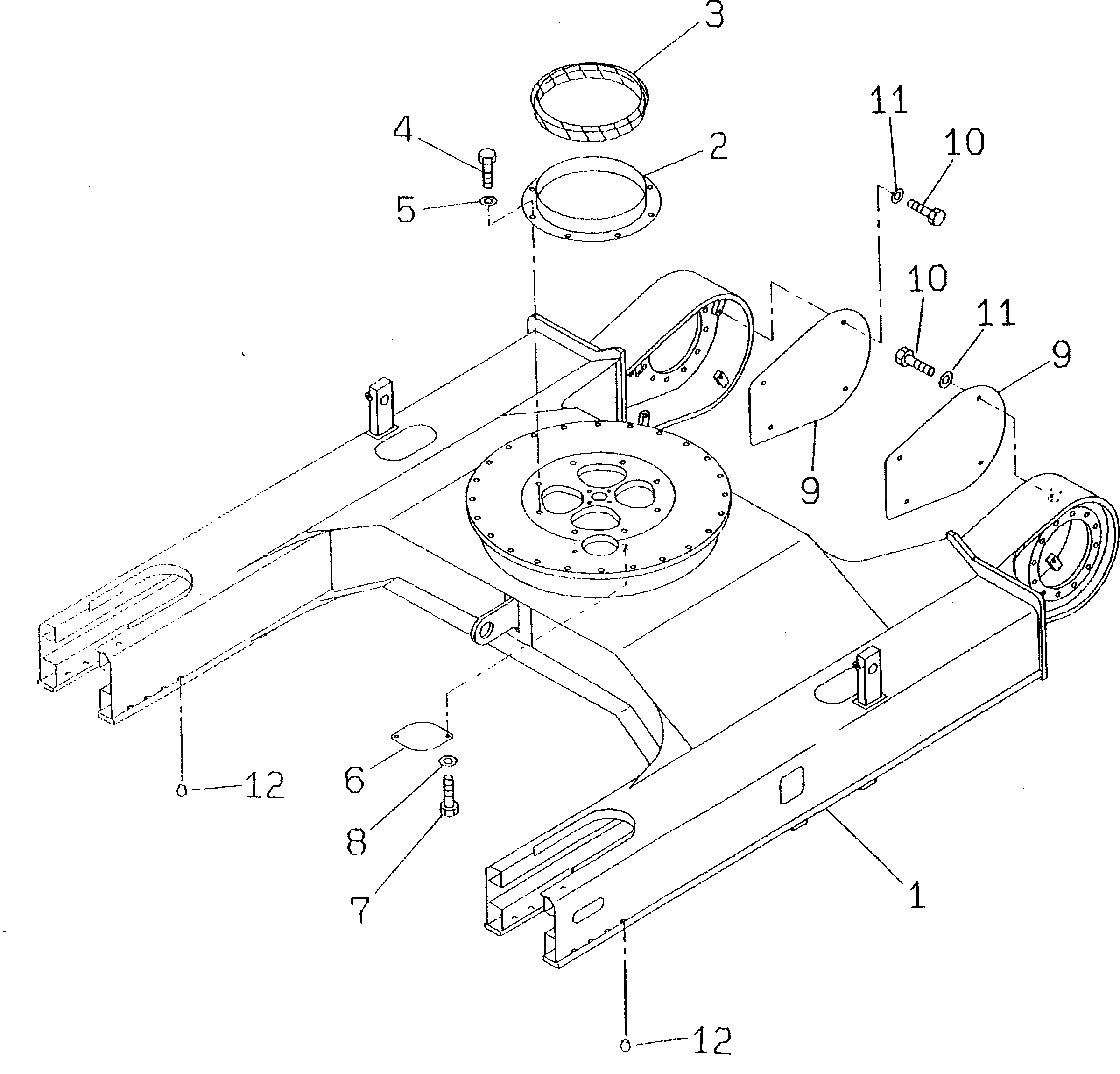
ГУСЕНИЧНАЯ РАМА (С УСИЛ. НИЖН. КРЫШКА) (ДЛЯ РЕЗИН. SHOE)(№-7)
№
Артикул
Название
Примечание
Количество
1
201-30-71151
FRAME,TRACK
|1
201-30-71150
201-30-71AB0
PLATE ASS'Y,CARRIER ROLLER (WELDED)
2
20X-30-21131
COVER
3
20X-30-21141
SEAL
4
01010-51225
BOLT
5
01643-31232
WASHER
6
201-30-61270
7
8
9
201-62-76211
10
01010-51025
11
01643-31032
12
07049-01418
PLUG
Выбрано товаров: 0