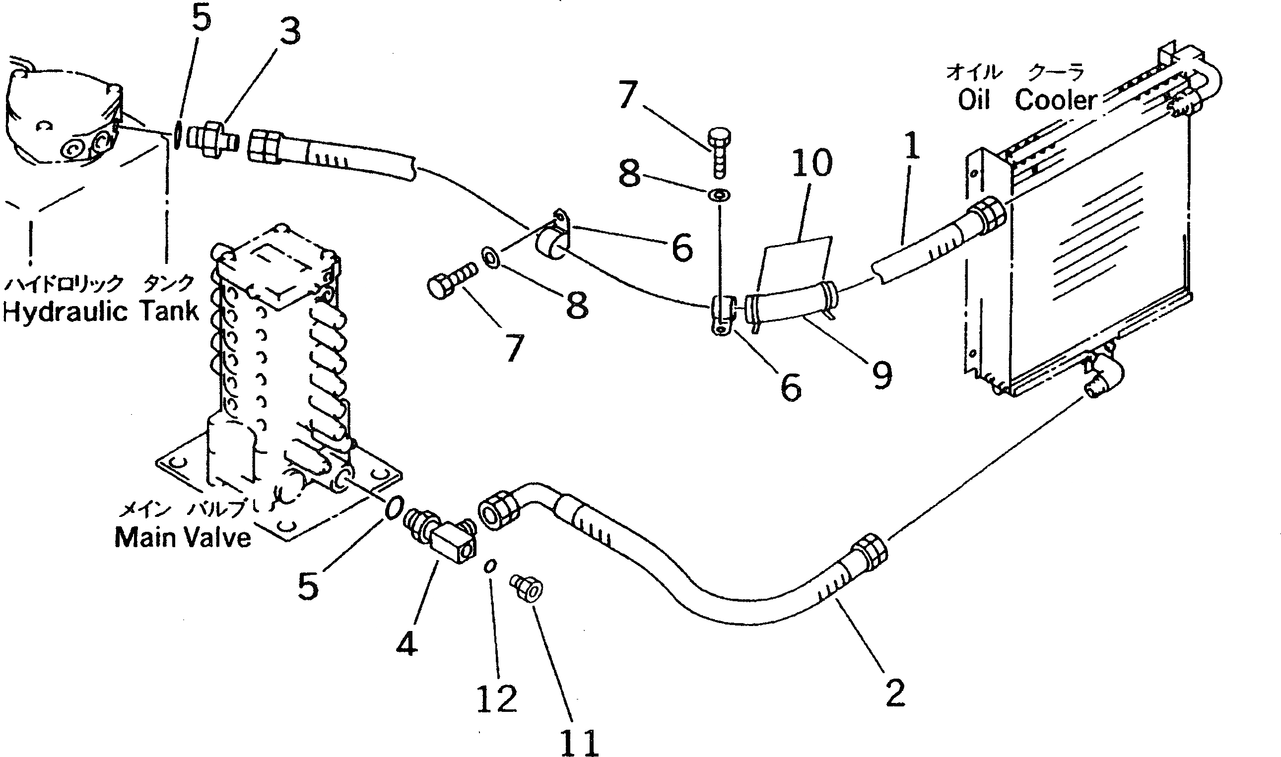
Запчасти Komatsu PC70-7 ЛИНИЯ МАСЛООХЛАДИТЕЛЯ(-ACTUATER НАВЕСН. ОБОРУД И ЗАГЛУШКА)(№-7) ГИДРАВЛИКА

Схема запчастей Komatsu PC70-7 - ЛИНИЯ МАСЛООХЛАДИТЕЛЯ(-ACTUATER НАВЕСН. ОБОРУД И ЗАГЛУШКА)(№-7) ГИДРАВЛИКА
FIT
1:1
100%

Артикул

Название

Примечание

Количество

1

201-62-72111

HOSE

2

201-62-72120

HOSE

3

07230-21034

UNION

4

201-62-75211

ELBOW

5

07002-03334

O-RING

6

23S-61-24870

CLIP

7

01010-51025

BOLT

8

01643-31032

WASHER

9

203-62-52210

RUBBER

10

08034-00519

BAND

11

07040-12412

PLUG

12

07002-02434

O-RING

Выбрано товаров: 12