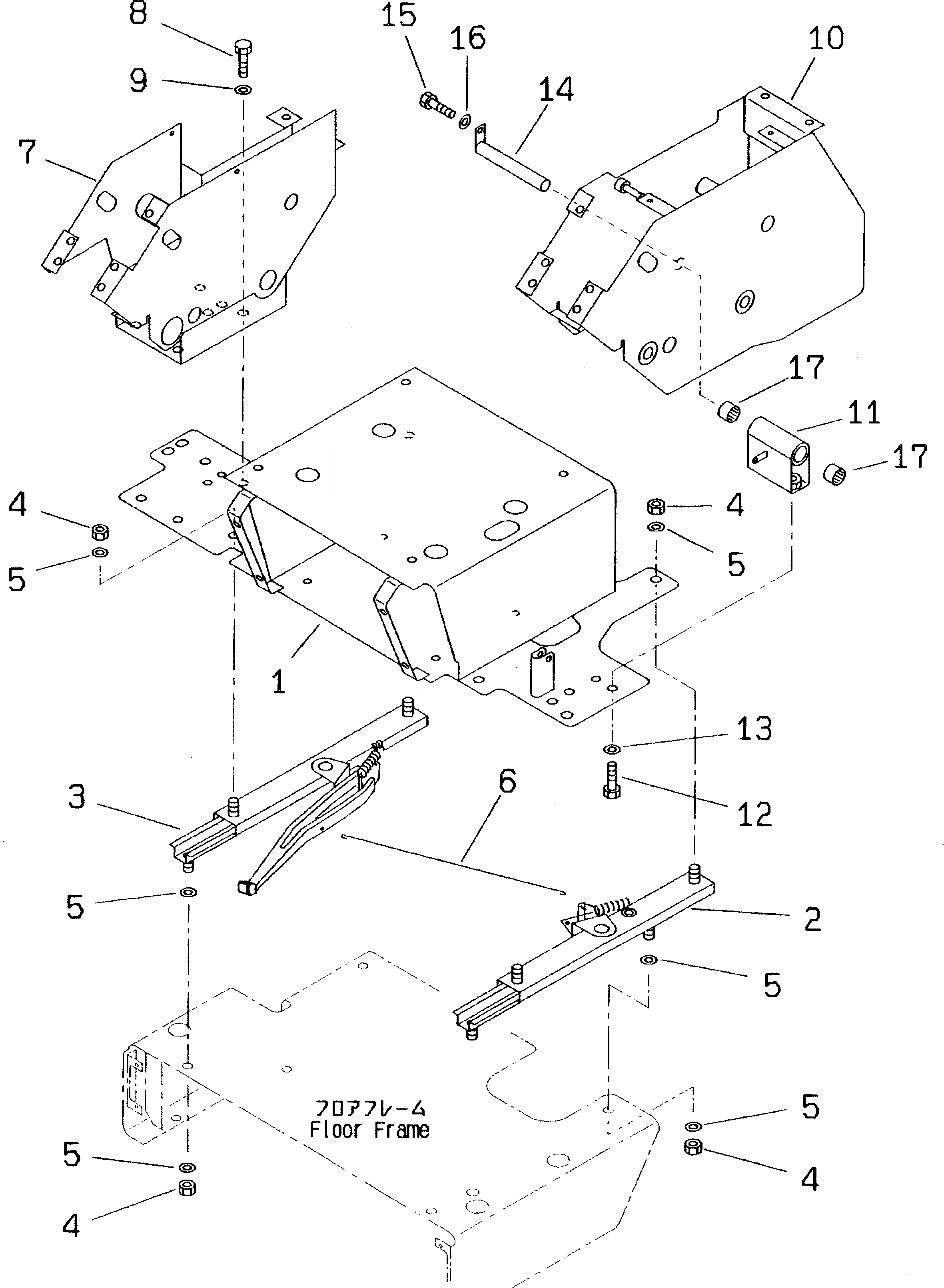
Запчасти Komatsu PC70-7E-B ОСНОВН. КОНСТРУКЦИЯ (ОСНОВ.)(№-7) КАБИНА ОПЕРАТОРА И СИСТЕМА УПРАВЛЕНИЯ

Схема запчастей Komatsu PC70-7E-B - ОСНОВН. КОНСТРУКЦИЯ (ОСНОВ.)(№-7) КАБИНА ОПЕРАТОРА И СИСТЕМА УПРАВЛЕНИЯ
FIT
1:1
100%

Артикул

Название

Примечание

Количество

1

201-54-73221

BRACKET

2

205-57-63520

ADJUSTER

3

205-57-63530

ADJUSTER

4

01580-11210

NUT

5

01643-31232

WASHER

6

201-54-73231

BAR

7

201-54-73271

BRACKET,R.H.

8

01010-51025

BOLT

9

01643-31032

WASHER

10

201-54-73261

BRACKET,L.H.

11

20U-54-23162

BOSS

12

01010-51030

BOLT

13

01643-31032

WASHER

14

20U-43-21121

SHAFT

15

01010-50616

BOLT

16

01643-30623

WASHER

17

195-61-34120

BEARING

Выбрано товаров: 17