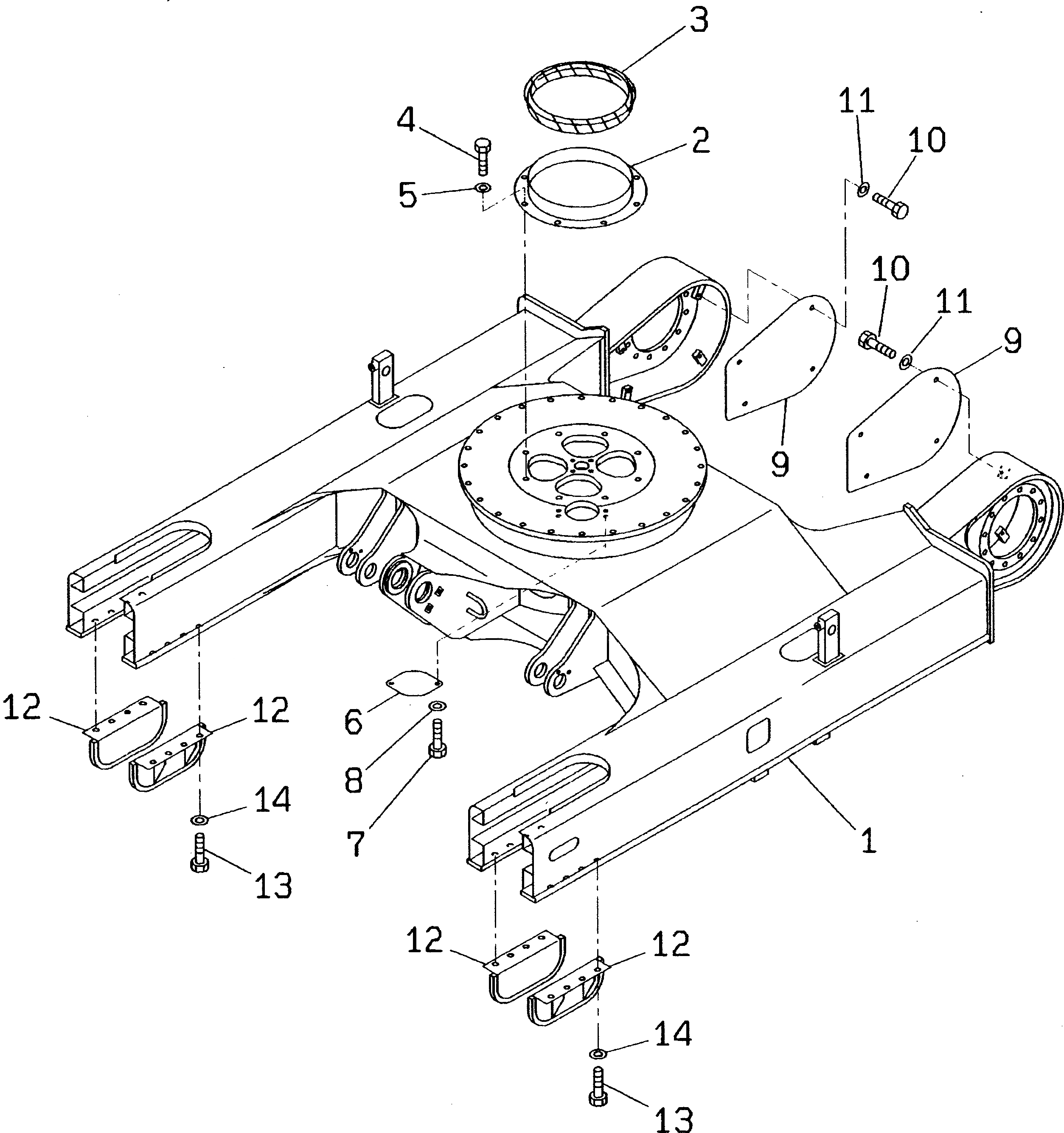
Запчасти Komatsu PC70-7E-B ГУСЕНИЧНАЯ РАМА (С УСИЛ. НИЖН. КРЫШКА) (СПЕЦИФ-Я С ОТВАЛОМ)(№-7) ХОДОВАЯ

Схема запчастей Komatsu PC70-7E-B - ГУСЕНИЧНАЯ РАМА (С УСИЛ. НИЖН. КРЫШКА) (СПЕЦИФ-Я С ОТВАЛОМ)(№-7) ХОДОВАЯ
FIT
1:1
100%

Артикул

Название

Примечание

Количество

1

201-910-7121

FRAME,TRACK

|1

201-910-7120

FRAME,TRACK

|1

201-30-71AB0

PLATE ASS'Y,CARRIER ROLLER (WELDED)

2

20X-30-21131

COVER

3

20X-30-21141

SEAL

4

01010-51225

BOLT

5

01643-31232

WASHER

6

201-30-61270

COVER

7

01010-51225

BOLT

8

01643-31232

WASHER

9

201-62-76211

COVER

10

01010-51025

BOLT

11

01643-31032

WASHER

12

201-30-71140

GUARD

13

01010-51430

BOLT

14

01643-31445

WASHER

Выбрано товаров: 16