Запчасти Komatsu PC70-7E-B РАСПРЕДЕЛИТ. КЛАПАН (ДЛЯ БЫСТРОСЪЕМН. МЕХ-М)(№-7) ГИДРАВЛИКА

Схема запчастей Komatsu PC70-7E-B - РАСПРЕДЕЛИТ. КЛАПАН (ДЛЯ БЫСТРОСЪЕМН. МЕХ-М)(№-7) ГИДРАВЛИКА
FIT
1:1
100%

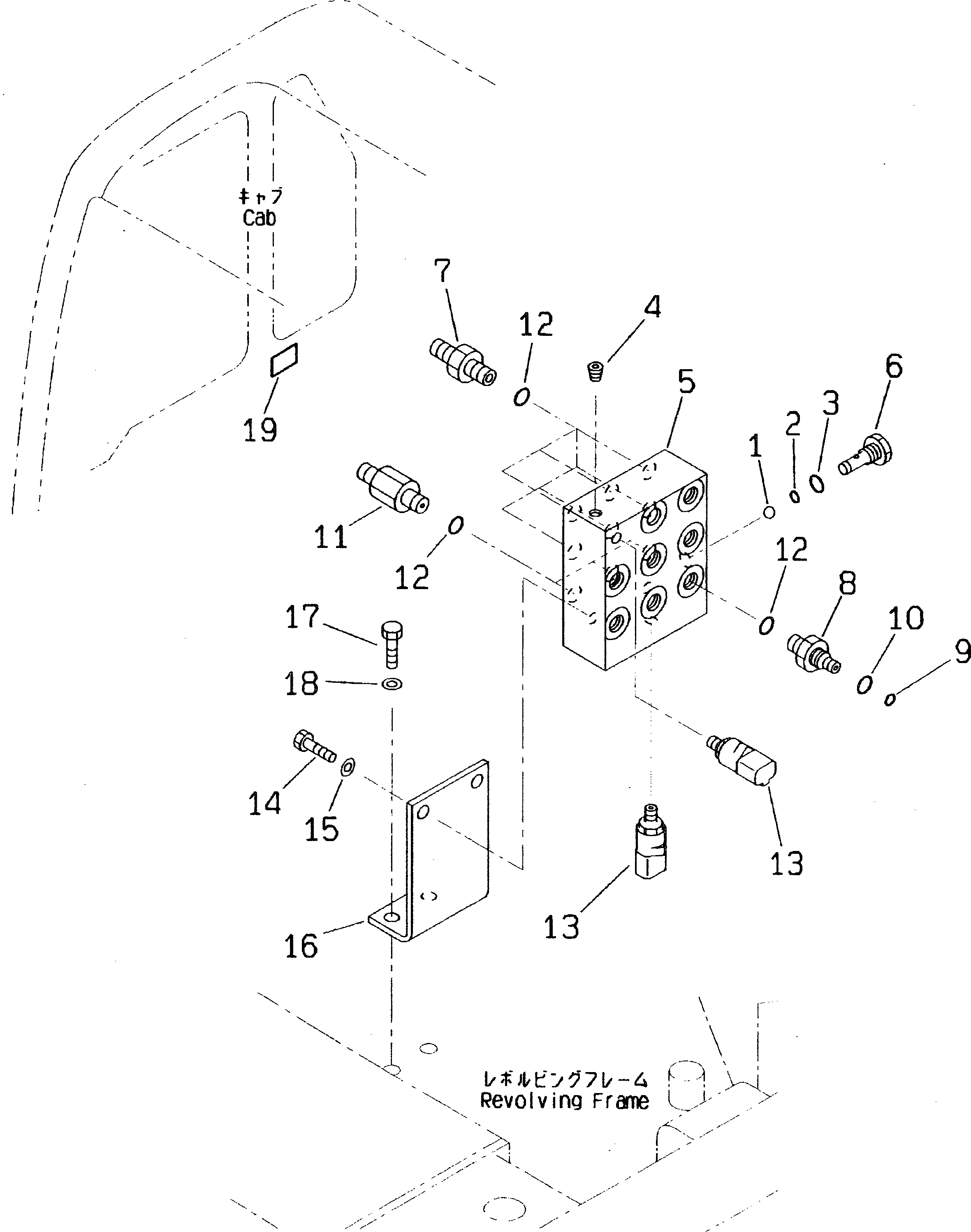
Артикул

Название

Примечание

Количество

|1

201-62-72900

CHECK VALVE ASS'Y

1

04260-00952

BALL

2

07000-11007

O-RING

3

07002-11423

O-RING

4

07043-70108

PLUG

5

201-62-72910

BLOCK

6

702-19-12120

PLUG

7

07230-20210

UNION

8

20Y-62-16630

NIPPLE

9

201-60-11390

O-RING

10

20Y-62-19560

O-RING

11

203-62-62770

NIPPLE

12

07002-01423

O-RING

13

20Y-06-21710

SWITCH

14

01010-51025

BOLT

15

01643-31032

WASHER

16

201-62-72950

BRACKET

17

01010-51025

BOLT

18

01643-31032

WASHER

19

20Y-00-11310

PLATE¤ OPERATING,KOMATSU PATTERN

|19

203-916-5130

PLATE¤ OPERATING,MITSUBISHI PATTERN

|19

203-916-5150

PLATE¤ OPERATING,SINKOU PATTERN

Выбрано товаров: 22