Запчасти Komatsu PC70-7E ОСНОВН. НАСОС (/)(№-7) ОСНОВН. КОМПОНЕНТЫ И РЕМКОМПЛЕКТЫ

Схема запчастей Komatsu PC70-7E - ОСНОВН. НАСОС (/)(№-7) ОСНОВН. КОМПОНЕНТЫ И РЕМКОМПЛЕКТЫ
FIT
1:1
100%

Артикул

Название

Примечание

Количество

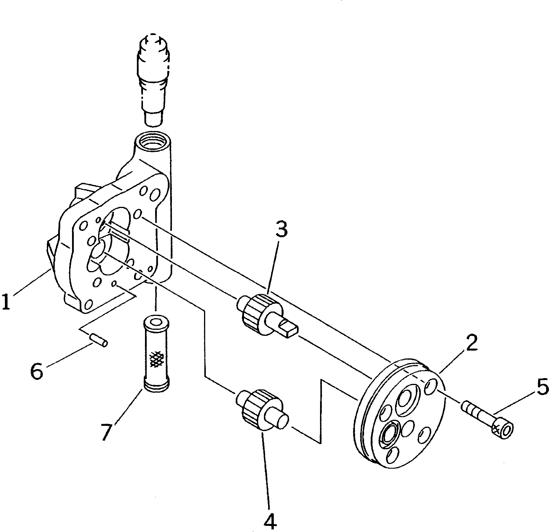
|1

708-1W-00042

PUMP ASS'Y

|1

704-24-24430

GEAR PUMP ASS'Y

1

704-28-24430

CASE

|1

704-27-00610

BUSHING,PLANE

2

704-28-00010

COVER

|2

704-27-00610

BUSHING,PLANE

3

704-28-24620

GEAR,DRIVE

4

704-28-24710

GEAR,DRIVEN

5

01252-31025

BOLT

6

04020-00616

PIN,DOWEL

7

704-28-02751

STRAINER

Выбрано товаров: 11