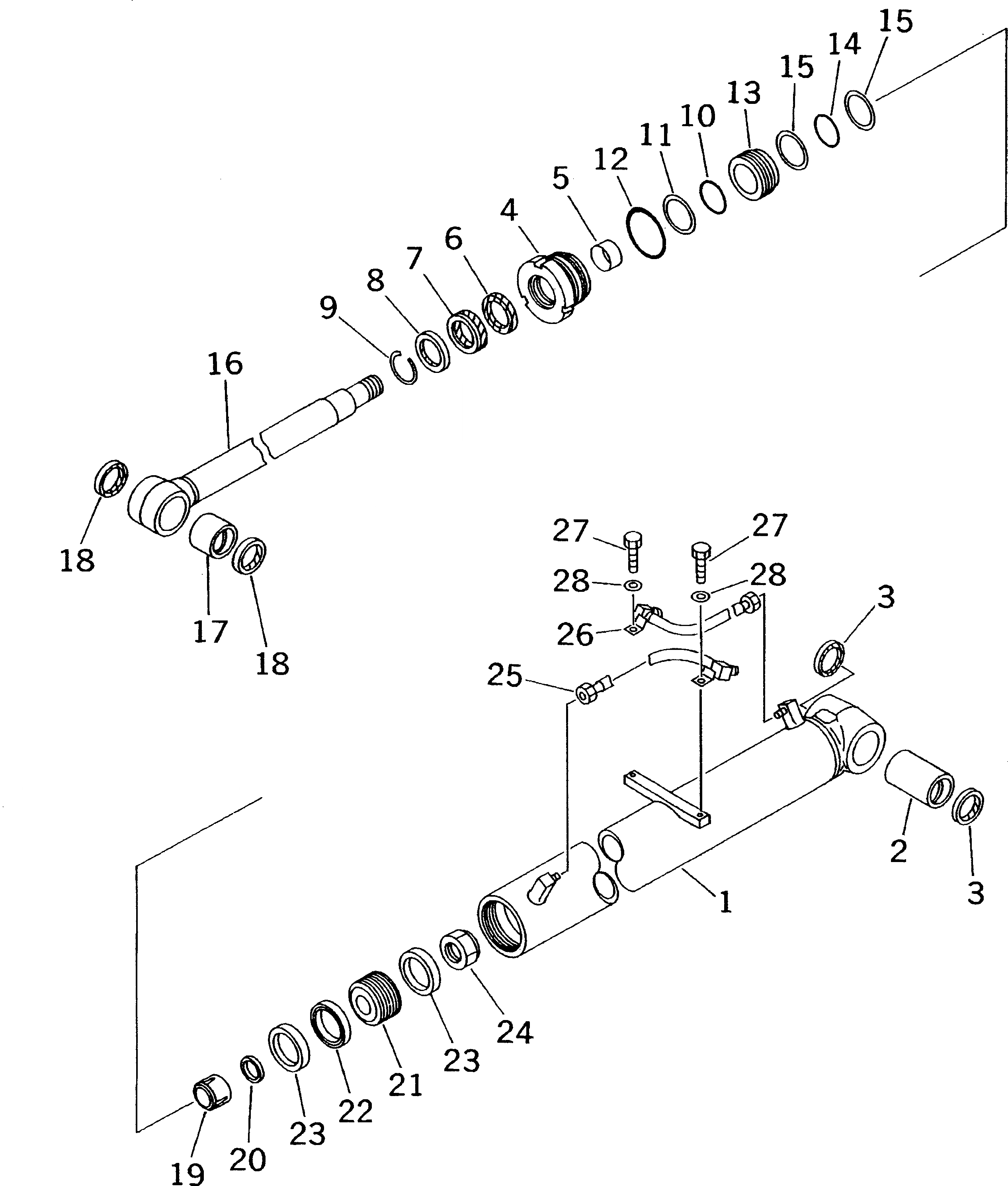
Запчасти Komatsu PC70-7E -ЧАСТИS ЦИЛИНДР СТРЕЛЫ(1-Я СТРЕЛА) (ВНУТР. ЧАСТИ)(№-7) ОСНОВН. КОМПОНЕНТЫ И РЕМКОМПЛЕКТЫ

Схема запчастей Komatsu PC70-7E - -ЧАСТИS ЦИЛИНДР СТРЕЛЫ(1-Я СТРЕЛА) (ВНУТР. ЧАСТИ)(№-7) ОСНОВН. КОМПОНЕНТЫ И РЕМКОМПЛЕКТЫ
FIT
1:1
100%

Артикул

Название

Примечание

Количество

G1

201-63-X2331

CYLINDER GROUP,(2 PIECES BOOM)

|1

201-63-02331

CYLINDER ASS'Y \,FIRST BOOM

1

201-63-54742

CYLINDER,FIRST BOOM

2

707-76-65250

BUSHING

3

07145-00065

SEAL,DUST (KIT)

4

707-29-11800

HEAD,CYLINDER

5

707-52-90400

BUSHING

6

707-51-65630

RING,BUFFER (KIT)

7

707-51-65030

PACKING,ROD (KIT)

8

144-63-92170

SEAL,DUST (KIT)

9

07179-12079

RING,SNAP

10

07000-12110

O-RING (KIT)

11

707-35-91610

RING,BACK-UP (KIT)

12

07000-02115

O-RING (KIT)

13

707-71-33520

COLLAR

14

07000-12110

O-RING (KIT)

15

707-35-91610

RING,BACK-UP (KIT)

16

201-63-54721

ROD,PISTON

17

707-76-60180

BUSHING

18

07145-00060

SEAL,DUST (KIT)

19

707-71-60600

PLUNGER

20

707-41-10190

WASHER

21

707-36-11600

PISTON

22

707-44-11280

RING,PISTON (KIT)

23

707-39-11510

RING,WEAR (KIT)

24

07165-14547

NUT

25

201-63-54771

TUBE

26

201-63-54781

TUBE

27

01010-51020

BOLT

28

01643-31032

WASHER

K

707-99-36630

SERVICE KIT,1ST BOOM CYLINDER

Выбрано товаров: 31