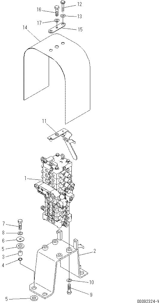
Запчасти Komatsu PC70-8 ОСНОВН. УПРАВЛЯЮЩ. КЛАПАН (СПЕЦИФ-Я С ОТВАЛОМ) (PROVISION ДЛЯ -ДОПОЛН. АКТУАТОР ТРУБЫ) H [ГИДРАВЛИКА]

Схема запчастей Komatsu PC70-8 - ОСНОВН. УПРАВЛЯЮЩ. КЛАПАН (СПЕЦИФ-Я С ОТВАЛОМ) (PROVISION ДЛЯ -ДОПОЛН. АКТУАТОР ТРУБЫ) H [ГИДРАВЛИКА]
FIT
1:1
100%

Артикул

Название

Примечание

Количество

1

723-28-51500

CONTROL VALVE

2

201-62-83421

BRACKET

3

201-62-83430

SPACER

4

07000-13025

O-RING

5

203-62-42770

CUSHION

6

566-35-42430

PLATE

7

01010-81245

BOLT

8

01643-31232

WASHER

9

01010-81445

BOLT

10

01643-31445

WASHER

11

201-62-83451

BRACKET

12

01010-80835

BOLT

13

01643-30823

WASHER

14

201-62-84281

SHEET

15

201-62-84290

PLATE

16

01010-81025

BOLT

17

01643-31032

WASHER

Выбрано товаров: 17