Запчасти Komatsu PC70-8 НАВЕСН. ОБОРУД ТРУБЫ (ПРЯМ.IONAL КЛАПАН) (/) H [ГИДРАВЛИКА]

Схема запчастей Komatsu PC70-8 - НАВЕСН. ОБОРУД ТРУБЫ (ПРЯМ.IONAL КЛАПАН) (/) H [ГИДРАВЛИКА]
FIT
1:1
100%

Артикул

Название

Примечание

Количество

|$1

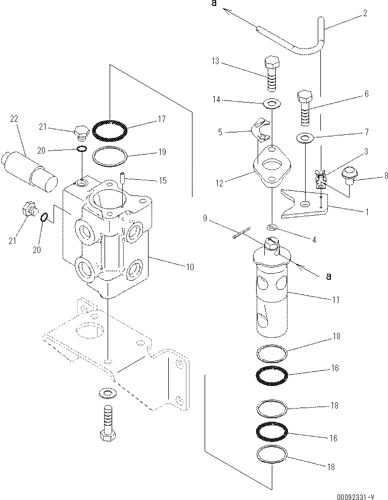
22P-62-13400

VALVE ASS'Y

1

203-62-65570

PLATE

2

203-62-65580

BAR

3

20B-54-12210

SPRING

4

203-00-56640

PLATE, MARK

5

203-62-65380

PLATE, MARK

6

01010-81230

BOLT

7

01643-31232

WASHER

8

01023-10406

SCREW

9

04050-12018

PIN, COTTER

|$11

22P-62-13410

VALVE ASS'Y

10

22P-62-13420

BLOCK

11

22P-62-13570

ROTOR

12

20Y-970-3350

FLANGE

13

01010-81025

BOLT

14

01643-31032

WASHER

15

04025-00412

PIN, SPRING

16

07000-13042

O-RING

17

07000-13048

O-RING

18

07001-03042

RING

19

07001-03048

RING

20

07002-11223

O-RING

21

07040-11209

PLUG

22

709-70-74700

VALVE ASS'Y

Выбрано товаров: 24