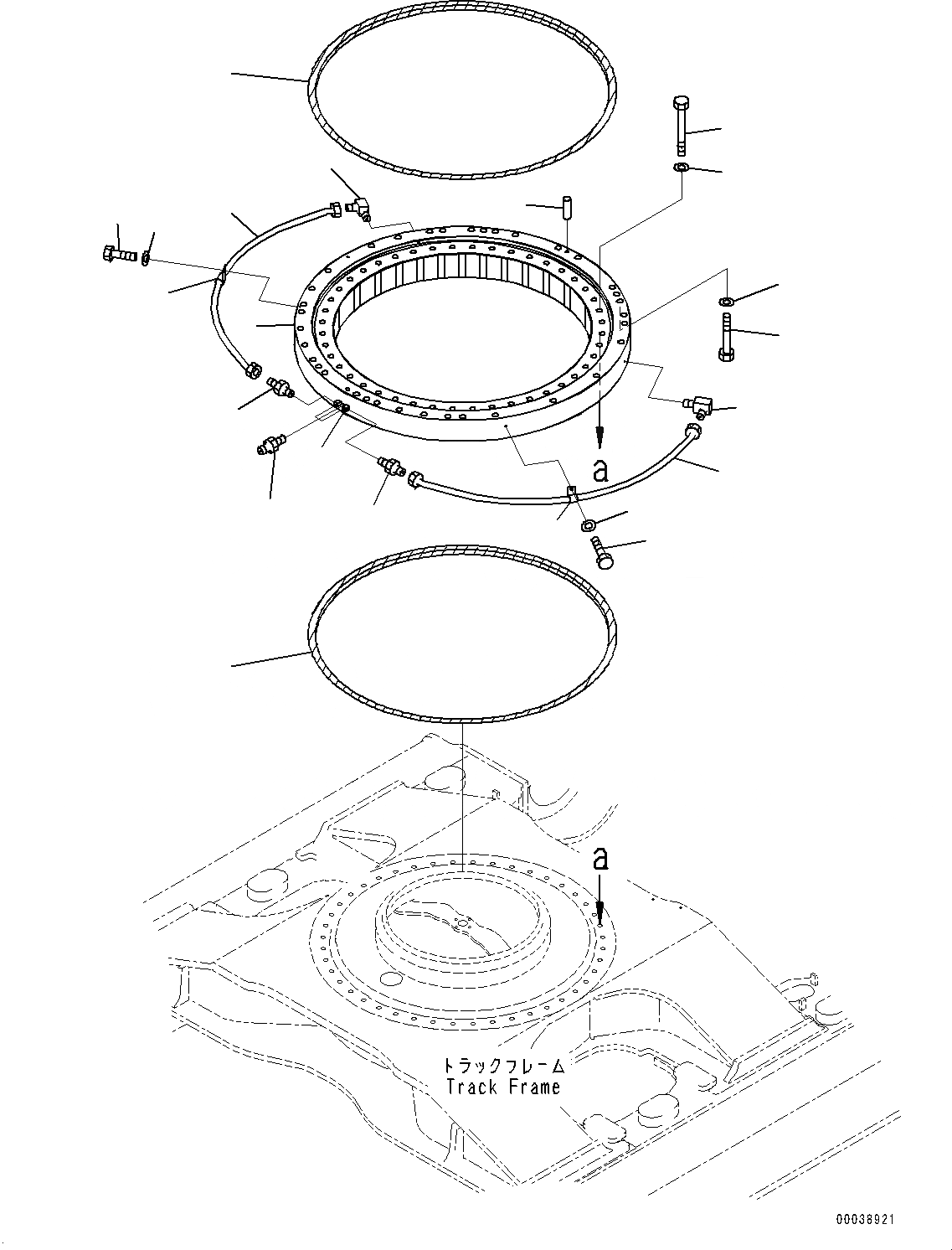
Запчасти Komatsu PC700LC-8E0 ПОВОРОТН. КРУГ (№-) ПОВОРОТН. КРУГ

Схема запчастей Komatsu PC700LC-8E0 - ПОВОРОТН. КРУГ (№-) ПОВОРОТН. КРУГ
6
5
7
2
1
10
8
12
14
13
9
9
11
11
8
4
12
14
13
16
15
3
FIT
1:1
100%

Артикул

Название

Примечание

Количество

1

21M-25-21100

Swing Circle Assembly

2

21M-25-11260

Seal

3

21M-25-11270

Seal

4

205-25-71280

Nipple

5

21M-25-21170

Bolt

6

01643-33080

Washer

7

04020-01842

Pin, Dowel

8

21M-25-11210

Tube

9

20Y-25-11270

Elbow

10

07020-00000

Fitting, Grease

11

07214-50813

Connector

12

08036-00814

Clip

13

01010-81020

Bolt

14

01643-31032

Washer

15

21M-25-21160

Bolt

16

01643-33080

Washer

Выбрано товаров: 16