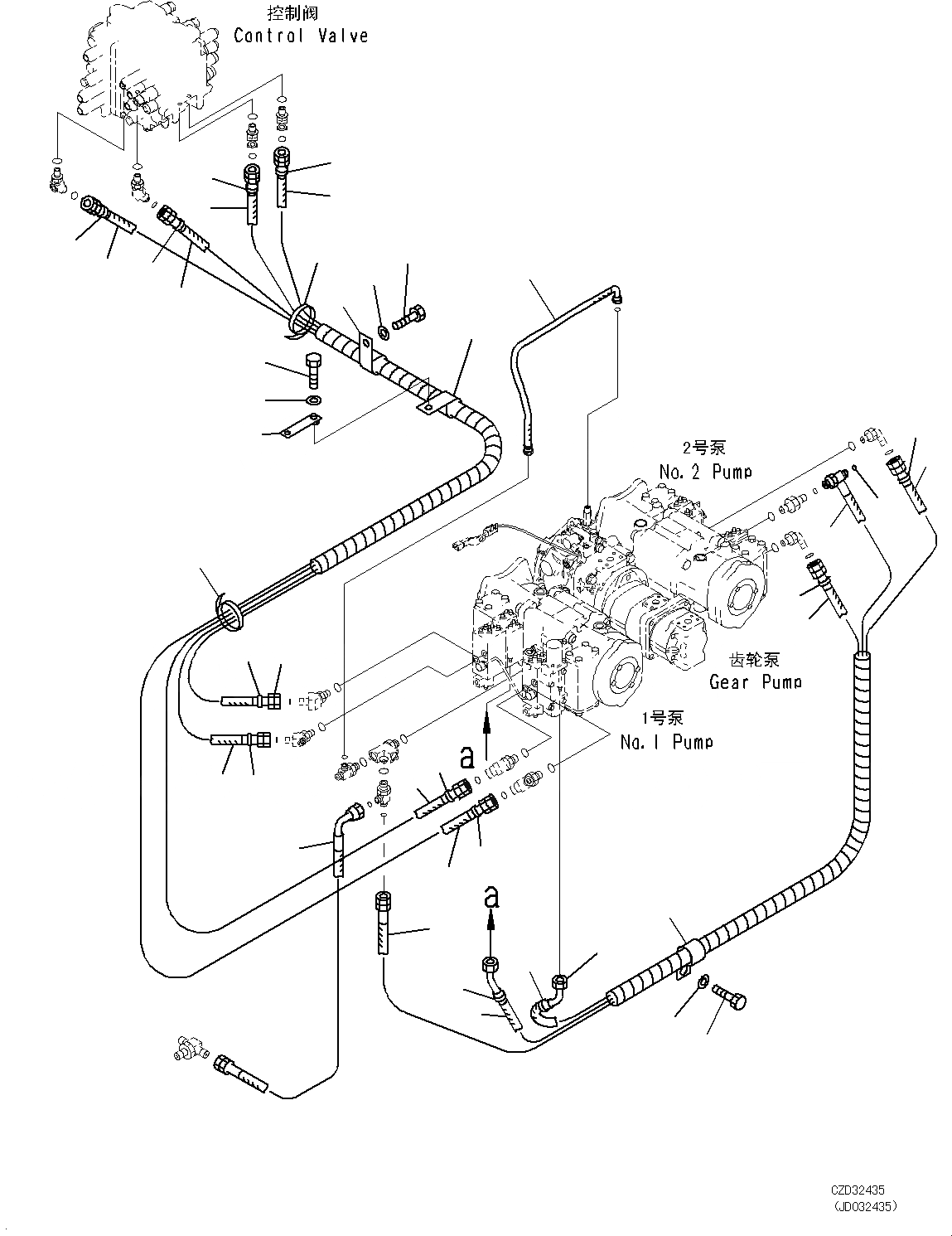
Запчасти Komatsu PC700LC-8E0 O.L.S.S. ТРУБЫ H [ГИДРАВЛИКА]

Схема запчастей Komatsu PC700LC-8E0 - O.L.S.S. ТРУБЫ H [ГИДРАВЛИКА]
4
5
2
2
18
7
3
25
19
2
6
17
1
21
22
23
11
20
10
13
8
7
12
9
3
2
5
2
1
6
24
4
2
14
8
9
12
11
10
16
15
FIT
1:1
100%

Артикул

Название

Примечание

Количество

1

02753-00315

HOSE, FACE SEAL TYPE

2

02753-00317

HOSE, FACE SEAL TYPE

3

20Y-62-22790

BAND, RED

4

20Y-62-22810

BAND, YELLOW

5

20Y-62-22820

BAND, BLUE

6

20Y-62-22830

BAND, WHITE

7

08034-20536

BAND

8

21M-62-14840

HOSE

9

21M-62-22150

HOSE

10

21M-62-32290

HOSE

11

20Y-62-22840

BAND, BLACK

12

20Y-62-22860

BAND, BROWN

13

02896-11009

O-RING

14

113-899-7950

CLIP

15

01010-81225

BOLT

16

01643-31232

WASHER

17

23T-62-12160

CLIP

18

01010-81230

BOLT

19

01643-31232

WASHER

20

20Y-06-21240

PLATE

21

207-62-33690

CLIP

22

01010-81230

BOLT

23

01643-31232

WASHER

24

02763-003A7

HOSE, FACE SEAL TYPE

25

02763-00305

HOSE, FACE SEAL TYPE

Выбрано товаров: 0