Запчасти Komatsu PC700LC-8E0 КАБИНА (EOPS КАБИНА, КАРЬЕРН, AM-FM РАДИО ДЛЯ АЗИИ, KOMTRAX) (ПОЛ, ОСНОВ.) K [КАБИНА ОПЕРАТОРА И СИСТЕМА УПРАВЛЕНИЯ]

Схема запчастей Komatsu PC700LC-8E0 - КАБИНА (EOPS КАБИНА, КАРЬЕРН, AM-FM РАДИО ДЛЯ АЗИИ, KOMTRAX) (ПОЛ, ОСНОВ.) K [КАБИНА ОПЕРАТОРА И СИСТЕМА УПРАВЛЕНИЯ]
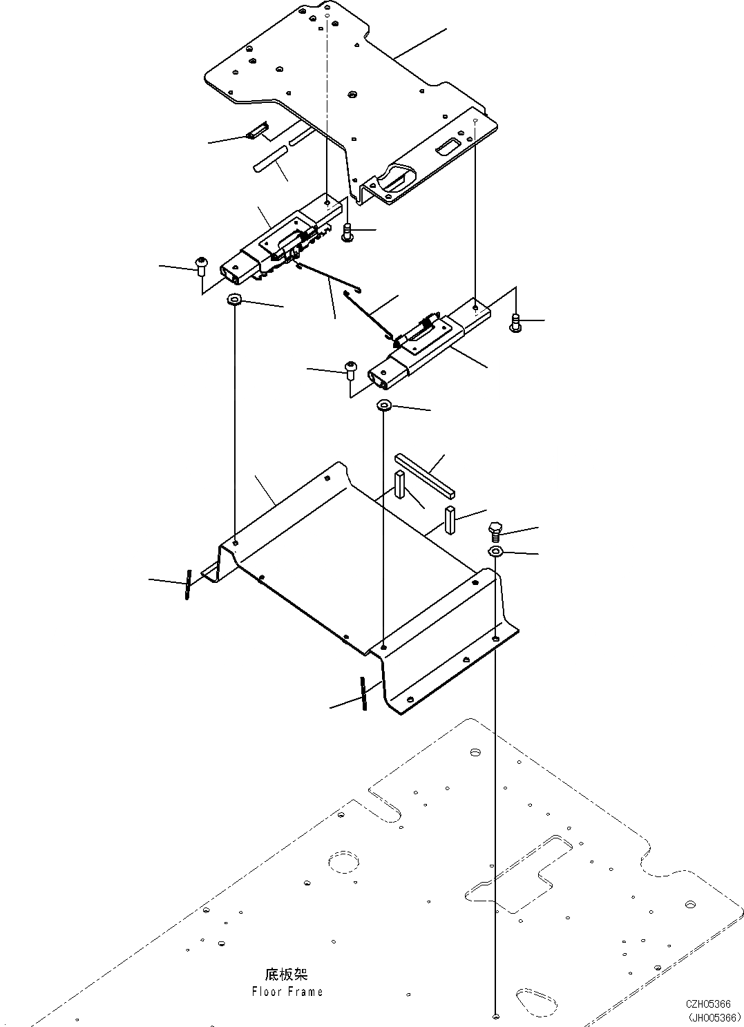
2
2
3
4
4
1
5
8
10
12
15
11
11
6
14
14
10
8
7
9
13
FIT
1:1
100%

Артикул

Название

Примечание

Количество

1

20Y-43-41231

FRAME

2

208-43-71520

SEAL

3

208-43-71530

SEAL

4

208-43-71590

SEAL

5

01010-81230

BOLT

6

01643-31232

WASHER

7

2A5-43-12353

ADJUSTER

8

01245-01025

SCREW

9

2A5-43-12363

ADJUSTER

10

01245-01025

SCREW

11

20Y-43-41833

WIRE

12

22U-43-21390

CAP

13

20Y-43-41253

FRAME

14

2A5-43-12480

WASHER

15

20Y-979-6630

CATCHER

Выбрано товаров: 15