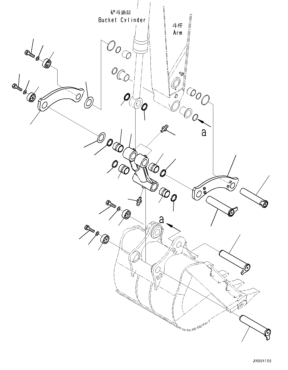
Запчасти Komatsu PC700LC-8E0 РУКОЯТЬ (9MM, БЕЗ ADJUSTMENT) (СОЕДИНЕНИЕ КОВША) T [РАБОЧЕЕ ОБОРУДОВАНИЕ]

Схема запчастей Komatsu PC700LC-8E0 - РУКОЯТЬ (9MM, БЕЗ ADJUSTMENT) (СОЕДИНЕНИЕ КОВША) T [РАБОЧЕЕ ОБОРУДОВАНИЕ]
21
1
20
24
8
16
7
3
6
3
7
15
6
9
2
2
6
6
19
4
5
13
25
17
22
23
27
26
14
18
10
12
11
FIT
1:1
100%

Артикул

Название

Примечание

Количество

|$1

21M-944-0330

LINK ASSEMBLY

1

LINK

2

21M-944-3350

BUSHING

3

209-72-53170

BUSHING

4

07020-00000

FITTING, GREASE

5

07020-00000

FITTING, GREASE

6

07145-00125

SEAL, DUST

7

209-72-12211

SEAL

8

21M-944-3321

LINK

9

21M-944-3331

LINK

10

207-70-11360

SPACER, T=1.0MM

11

21M-944-3370

SHIM

12

21M-70-11171

PIN

13

209-70-53181

STOPPER

14

01010-82460

BOLT

15

01643-32460

WASHER

16

21M-944-3340

PIN

17

21M-944-3360

STOPPER

18

01010-82460

BOLT

19

01643-32460

WASHER

20

21M-70-11160

PIN

21

209-70-53181

STOPPER

22

01010-82460

BOLT

23

01643-32460

WASHER

24

21M-70-11160

PIN

25

209-70-53181

STOPPER

26

01010-82460

BOLT

27

01643-32460

WASHER

Выбрано товаров: 28