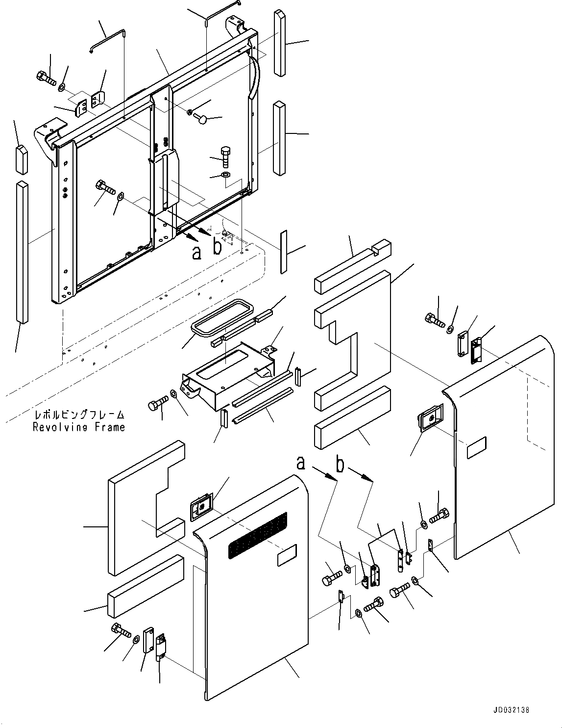
Запчасти Komatsu PC700LC-8R БОКОВ. КРЫШКА ЛЕВ. (№7-) БОКОВ. КРЫШКА ЛЕВ.

Схема запчастей Komatsu PC700LC-8R - БОКОВ. КРЫШКА ЛЕВ. (№7-) БОКОВ. КРЫШКА ЛЕВ.
9
8
4
13
13
15
14
18
18
17
16
50
49
2
3
1
20
21
19
25
24
25
24
23
22
5
6
37
26
30
29
42
39
28
38
45
43
44
40
41
46
11
32
31
33
27
12
10
7
34
12
11
48
47
10
35
36
FIT
1:1
100%

Артикул

Название

Примечание

Количество

1

21M-54-21412

Frame

2

21M-54-15590

Seal

3

21M-54-15610

Seal

4

21M-54-15620

Seal

5

21M-54-15630

Seal

6

21M-54-21470

Sheet

7

20Y-54-28170

Bracket

8

01010-81230

Bolt

9

01643-31232

Washer

10

205-54-51971

Dovetail

10

205-54-51970

Dovetail

11

01010-80616

Bolt

12

01643-30623

Washer

13

21M-54-11730

Plate

14

01010-81230

Bolt

15

01643-31232

Washer

16

20Y-54-11611

Stopper

17

01580-11008

Nut

18

20Y-54-29232

Bar

19

21M-54-21441

Duct

20

21M-54-15550

Sheet

21

21M-54-21670

Sheet

22

01010-81230

Bolt

23

01643-31232

Washer

24

21M-54-15570

Seal

25

21M-54-15580

Seal

26

21M-54-31431

Cover

27

20Y-54-28161

Hinge,Welded

28

20Y-54-71491

Lock,Welded

29

21M-54-16512

Sheet

30

21M-54-21460

Sheet

31

21M-54-11760

Plate

32

01010-81245

Bolt

33

20Y-54-12670

Washer

34

205-54-53550

Dovetail

35

01010-80612

Bolt

36

01643-30623

Washer

37

21M-54-31421

Cover

38

20Y-54-28161

Hinge,Welded

39

20Y-54-71372

Lock,Welded

40

21M-54-16512

Sheet

41

21M-54-21452

Sheet

42

21M-54-31440

Sheet

43

21M-54-11760

Plate

44

01010-81245

Bolt

45

20Y-54-12670

Washer

46

205-54-53550

Dovetail

47

01010-80612

Bolt

48

01643-30623

Washer

49

01010-81230

Bolt

50

01643-31232

Washer

Выбрано товаров: 51