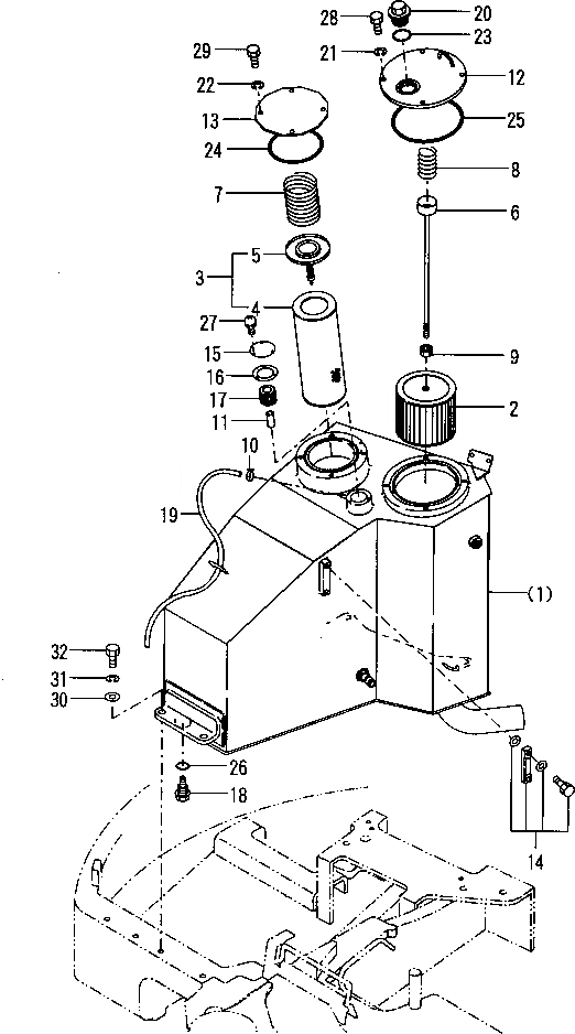
Запчасти Komatsu PC70FR-1 ГИДР. БАК. УПРАВЛ-Е РАБОЧИМ ОБОРУДОВАНИЕМ

Схема запчастей Komatsu PC70FR-1 - ГИДР. БАК. УПРАВЛ-Е РАБОЧИМ ОБОРУДОВАНИЕМ
FIT
1:1
100%

Артикул

Название

Примечание

Количество

1

YM772187-75101

RESERVOIR

|1

YM772187-75100

RESERVOIR

2

YM172162-73700

STRAINER

3

YM172187-73700

FILTER ASS'Y,RETURN

4

YM172187-73730

ELEMENT

5

YM172112-74971

VALVE

6

YM172187-73710

SHAFT,FILTER

7

YM172112-75770

SPRING

8

YM172112-75780

SPRING

9

YM26716-100002

NUT

10

YM124766-59050

CLAMP,HOSE

11

YM172187-75270

PIPE

12

YM172187-75280

COVER ASS'Y

13

YM172187-75340

COVER ASS'Y

14

YM172187-75350

GAUGE,OIL

15

YM172165-75450

PLATE

16

YM172165-75460

GASKET

17

YM172165-75481

ELEMENT

18

YM172187-75500

PLUG

19

YM172187-75510

HOSE

20

YM17211675850K

PLUG

21

YM22217-100000

WASHER

22

YM22217-100000

WASHER

23

YM24311-000380

O-RING

24

YM24321-001350

O-RING

25

YM24321-001700

PACKING

27

YM26022-050102

SCREW

28

YM26116-100252

BOLT

29

YM26116-100252

BOLT

30

YM22137-160000

WASHER

31

YM22217-160000

WASHER

32

YM26116-160402

BOLT

Выбрано товаров: 32