Запчасти Komatsu PC70FR-1 ЦИЛИНДР ОТВАЛА РАБОЧЕЕ ОБОРУДОВАНИЕ

Схема запчастей Komatsu PC70FR-1 - ЦИЛИНДР ОТВАЛА РАБОЧЕЕ ОБОРУДОВАНИЕ
FIT
1:1
100%

Артикул

Название

Примечание

Количество

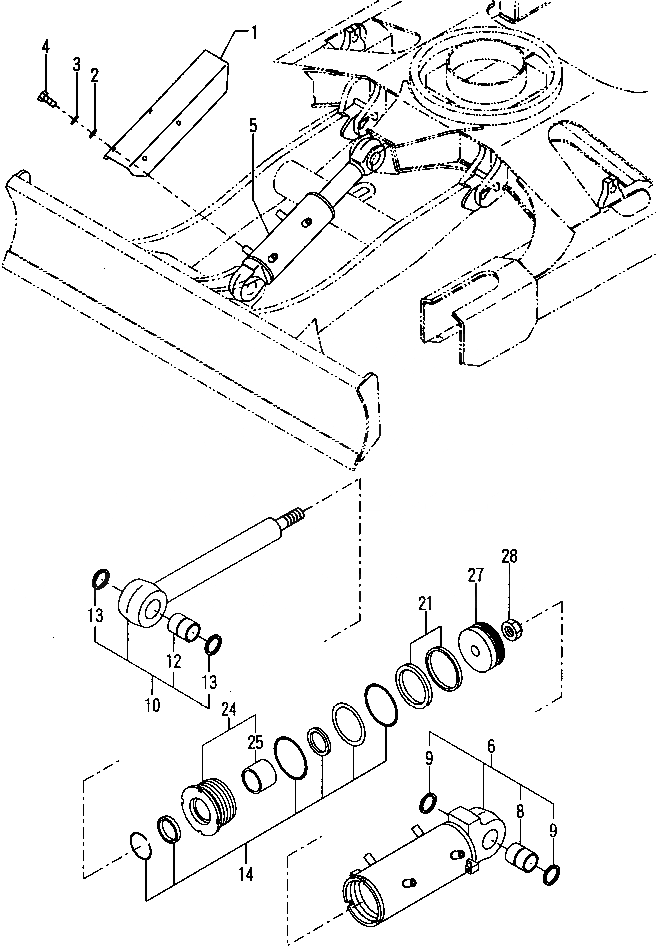
1

YM172187-72891

COVER ASS'Y,BLADE

2

YM22137-100000

WASHER

3

YM22217-100000

WASHER

4

YM26116-100202

BOLT

5

YM172187-72101

CYLINDER ASS'Y,BLADE

6

YM172187-72060

TUBE

8

YM172187-72180

BUSH

9

YM182900-53650

SEAL

10

YM172187-72070

ROD

12

YM172187-72170

BUSH

13

YM182900-53650

SEAL

14

YM172187-72040

SEAL SET

21

YM172187-72090

SEAL SET,PISTON

24

YM172187-72080

HEAD ASS'Y

25

YM182900-60960

BUSH

27

YM172187-72140

PISTON

28

YM172187-72160

NUT

Выбрано товаров: 0