Запчасти Komatsu PC710-5 КАБИНА (ЭЛЕКТР. ОБОРУД-Е)(№-) КАБИНА ОПЕРАТОРА И СИСТЕМА УПРАВЛЕНИЯ

Схема запчастей Komatsu PC710-5 - КАБИНА (ЭЛЕКТР. ОБОРУД-Е)(№-) КАБИНА ОПЕРАТОРА И СИСТЕМА УПРАВЛЕНИЯ
FIT
1:1
100%

Артикул

Название

Примечание

Количество

|$1

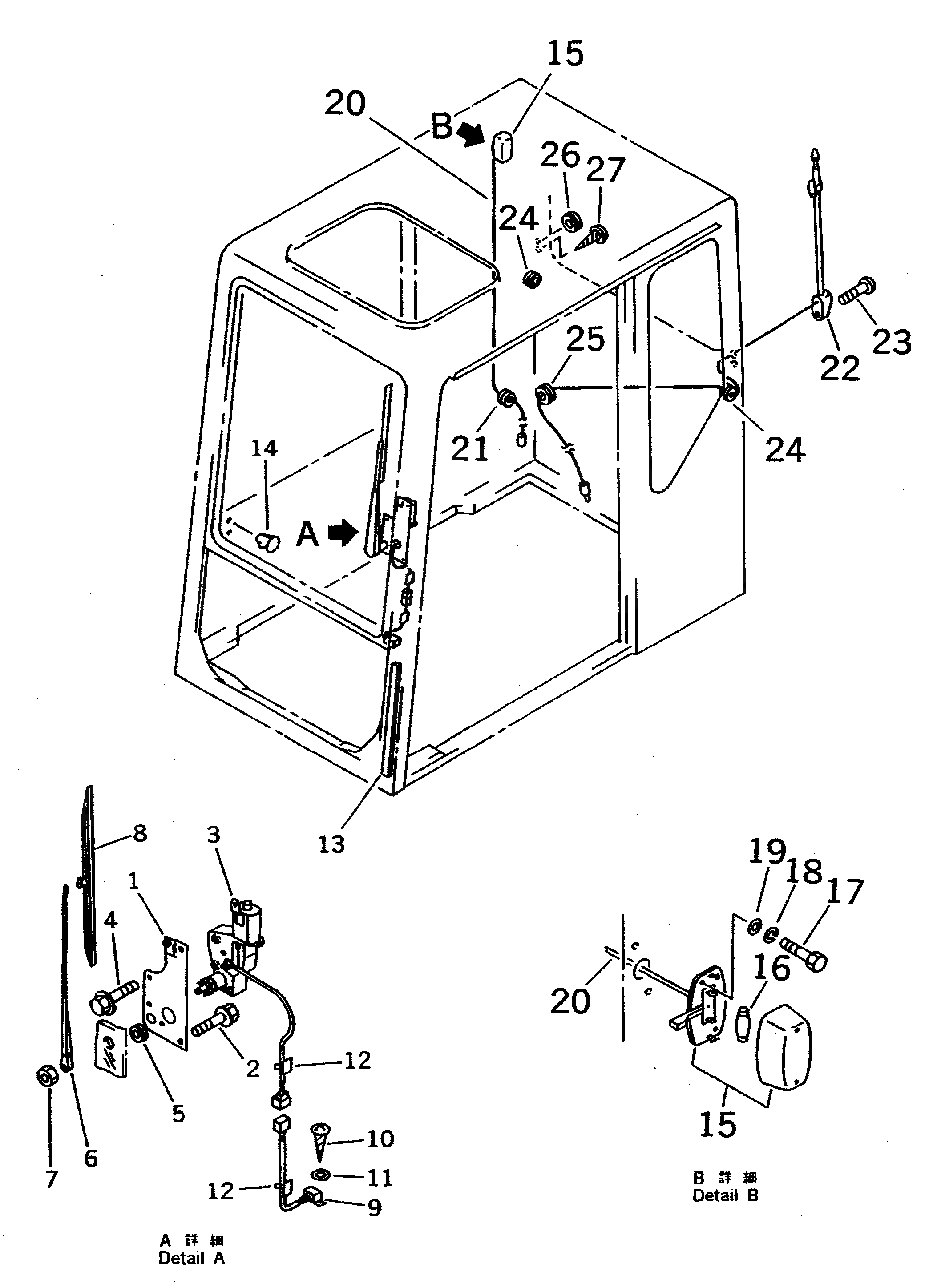
209-54-00160

OPERATOR'S CAB ASS'Y

1

20Y-54-11791

BRACKET

2

20Y-54-14360

BOLT

3

20Y-06-11750

MOTOR

4

20Y-54-14380

BOLT

5

08037-02512

GROMMET

6

20Y-06-11760

ARM

7

01580-10806

NUT

8

20Y-06-11770

BLADE

9

20Y-06-11382

WIRING HARNESS

10

01370-40412

SCREW

11

20Y-54-38270

WASHER

12

20Y-54-13440

CLIP

13

20Y-54-14510

DUCT

14

20Y-54-14540

PLUG

15

08141-02400

LAMP

16

08116-02410

BULB, 10W

17

01220-40412

SCREW

18

01601-20410

WASHER

19

01641-20405

WASHER

20

20Y-06-13230

WIRING HARNESS

21

08037-01008

GROMMET

22

08912-01500

ANTENNA

23

01220-40420

SCREW

24

08037-01008

GROMMET

25

08037-01610

GROMMET

26

09415-01008

CAP

27

01370-00412

SCREW

Выбрано товаров: 28