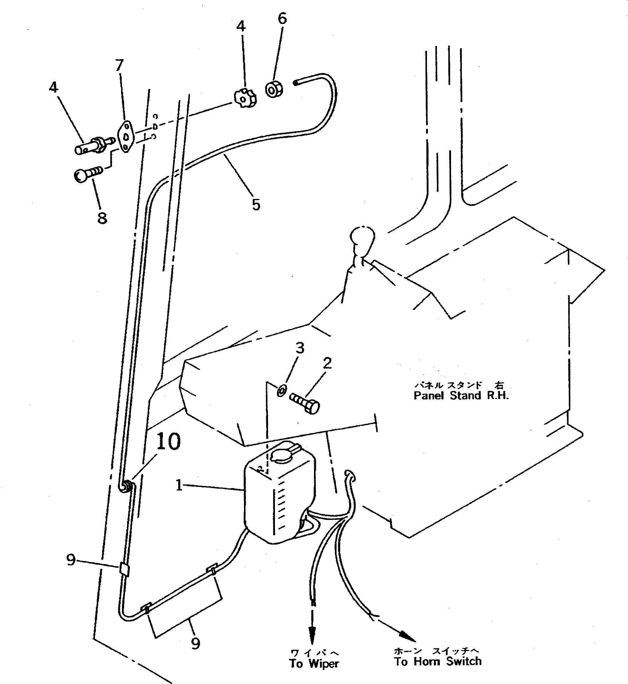
Запчасти Komatsu PC710-5 КАБИНА (ОМЫВАТЕЛЬ СТЕКЛА)(№8-) КАБИНА ОПЕРАТОРА И СИСТЕМА УПРАВЛЕНИЯ

Схема запчастей Komatsu PC710-5 - КАБИНА (ОМЫВАТЕЛЬ СТЕКЛА)(№8-) КАБИНА ОПЕРАТОРА И СИСТЕМА УПРАВЛЕНИЯ
FIT
1:1
100%

Артикул

Название

Примечание

Количество

|$2

209-54-00160

OPERATOR'S CAB ASS'Y

1

206-06-15230

TANK

2

01010-50612

BOLT

3

01643-30623

WASHER

4

205-06-61220

NOZZLE ASS'Y

5

205-06-71470

HOSE

6

205-06-71610

NUT

7

209-54-51180

BRACKET

8

01370-00412

SCREW

9

08051-00801

CLIP

10

20Y-54-18980

GROMMET

Выбрано товаров: 11