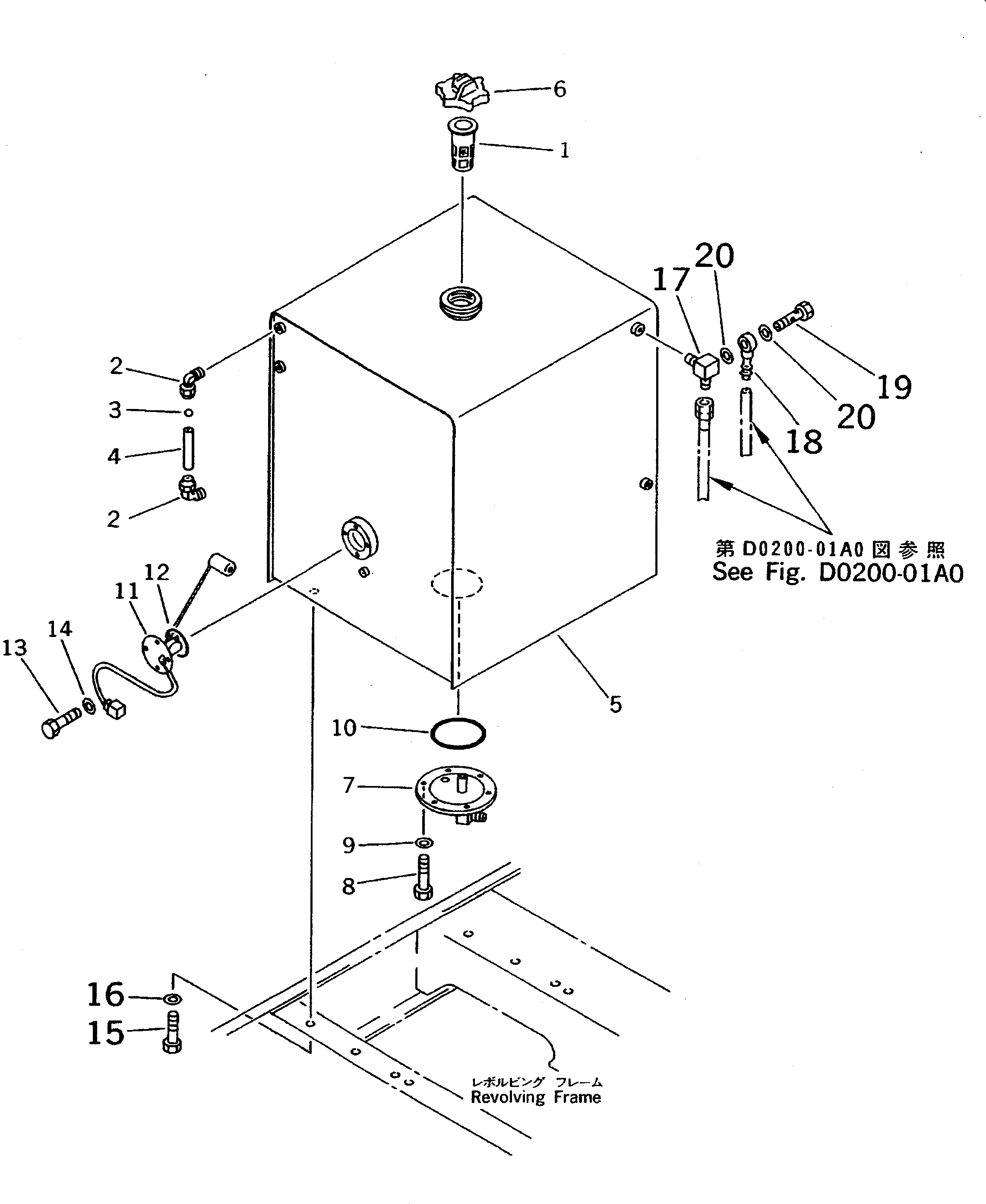
Запчасти Komatsu PC710-5 ТОПЛИВН. БАК. (КРОМЕ ЯПОН.)(№8-) ТОПЛИВН. БАК. AND КОМПОНЕНТЫ

Схема запчастей Komatsu PC710-5 - ТОПЛИВН. БАК. (КРОМЕ ЯПОН.)(№8-) ТОПЛИВН. БАК. AND КОМПОНЕНТЫ
FIT
1:1
100%

Артикул

Название

Примечание

Количество

1

07056-18416

STRAINER

2

208-04-19130

ELBOW

3

208-04-19160

BALL,FLOAT

4

203-60-31160

TUBE

5

209-04-51113

TANK

5

209-04-51112

TANK

6

07050-41200

CAP

7

209-04-61110

FLANGE

8

01010-51235

BOLT

9

01643-31232

WASHER

10

07000-05170

O-RING

11

7861-92-4800

SENSOR

12

07000-02085

O-RING

13

01010-51016

BOLT

14

01643-31032

WASHER

15

01010-52045

BOLT

16

01643-32060

WASHER

17

209-04-61120

ELBOW

18

20Y-04-21140

TUBE

19

07206-30508

BOLT

20

07005-00812

SEAL, WASHER

Выбрано товаров: 21