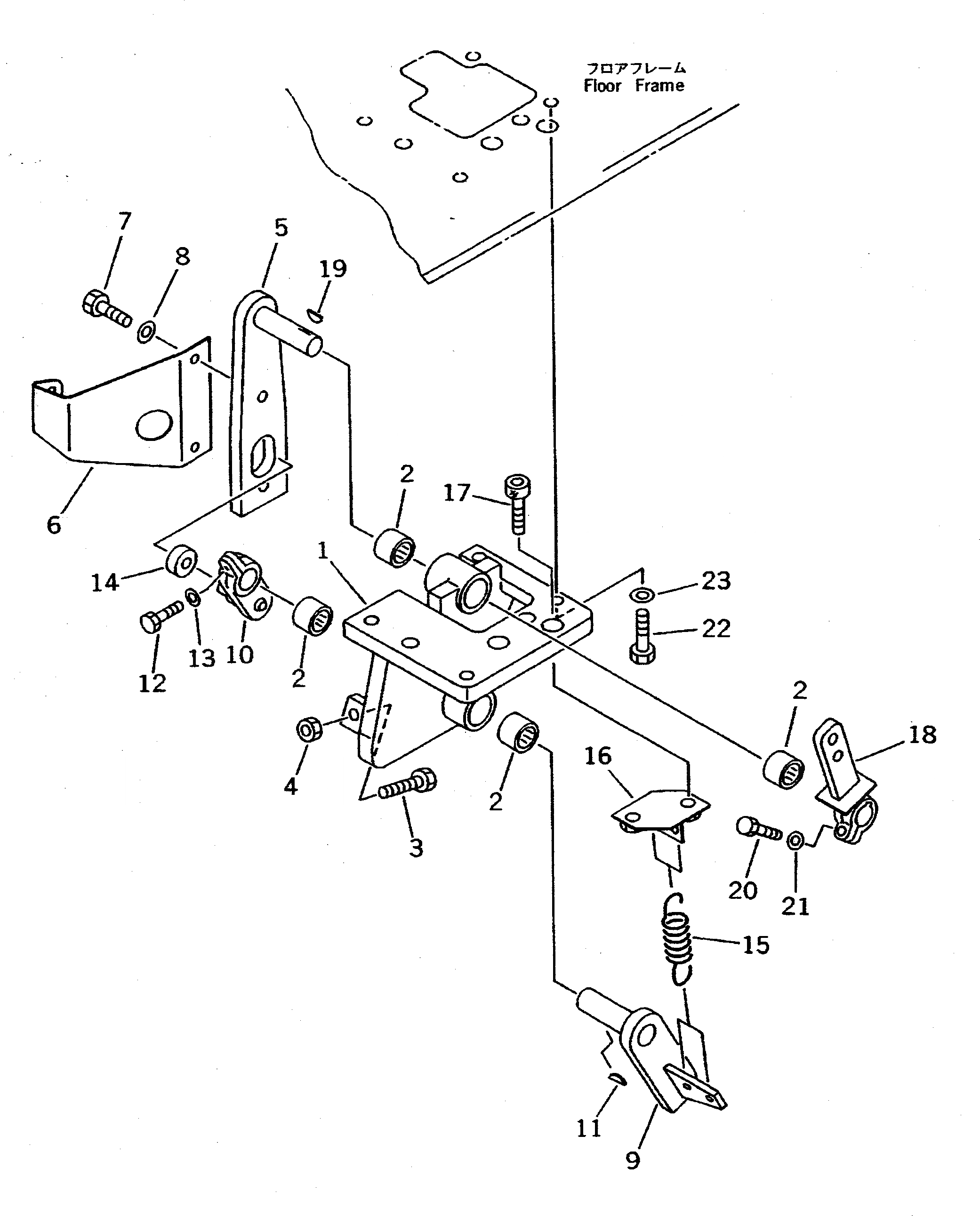
Запчасти Komatsu PC710-5 БЕЗОПАСН. БЛОКИР. (РЫЧАГ) (СПЕЦ-Я TBG)(№8-) КАБИНА ОПЕРАТОРА И СИСТЕМА УПРАВЛЕНИЯ

Схема запчастей Komatsu PC710-5 - БЕЗОПАСН. БЛОКИР. (РЫЧАГ) (СПЕЦ-Я TBG)(№8-) КАБИНА ОПЕРАТОРА И СИСТЕМА УПРАВЛЕНИЯ
FIT
1:1
100%

Артикул

Название

Примечание

Количество

1

209-43-61510

BRACKET

2

195-61-45440

BEARING

3

20Y-43-15390

BOLT

4

01580-01008

NUT

5

209-43-61520

LEVER

6

209-43-61530

BRACKET

7

01010-51020

BOLT

8

01643-31032

WASHER

9

209-43-61540

LEVER

10

209-43-61550

LEVER

11

04010-00519

KEY

12

01010-50830

BOLT

13

01643-50823

WASHER

14

20Y-54-11570

ROLLER

15

20Y-43-22330

SPRING

16

209-43-61560

BRACKET

17

01252-51035

BOLT

18

209-43-61570

LEVER

19

04010-00519

KEY

20

01010-50830

BOLT

21

01643-50823

WASHER

22

01010-51035

BOLT

23

01643-31032

WASHER

Выбрано товаров: 23