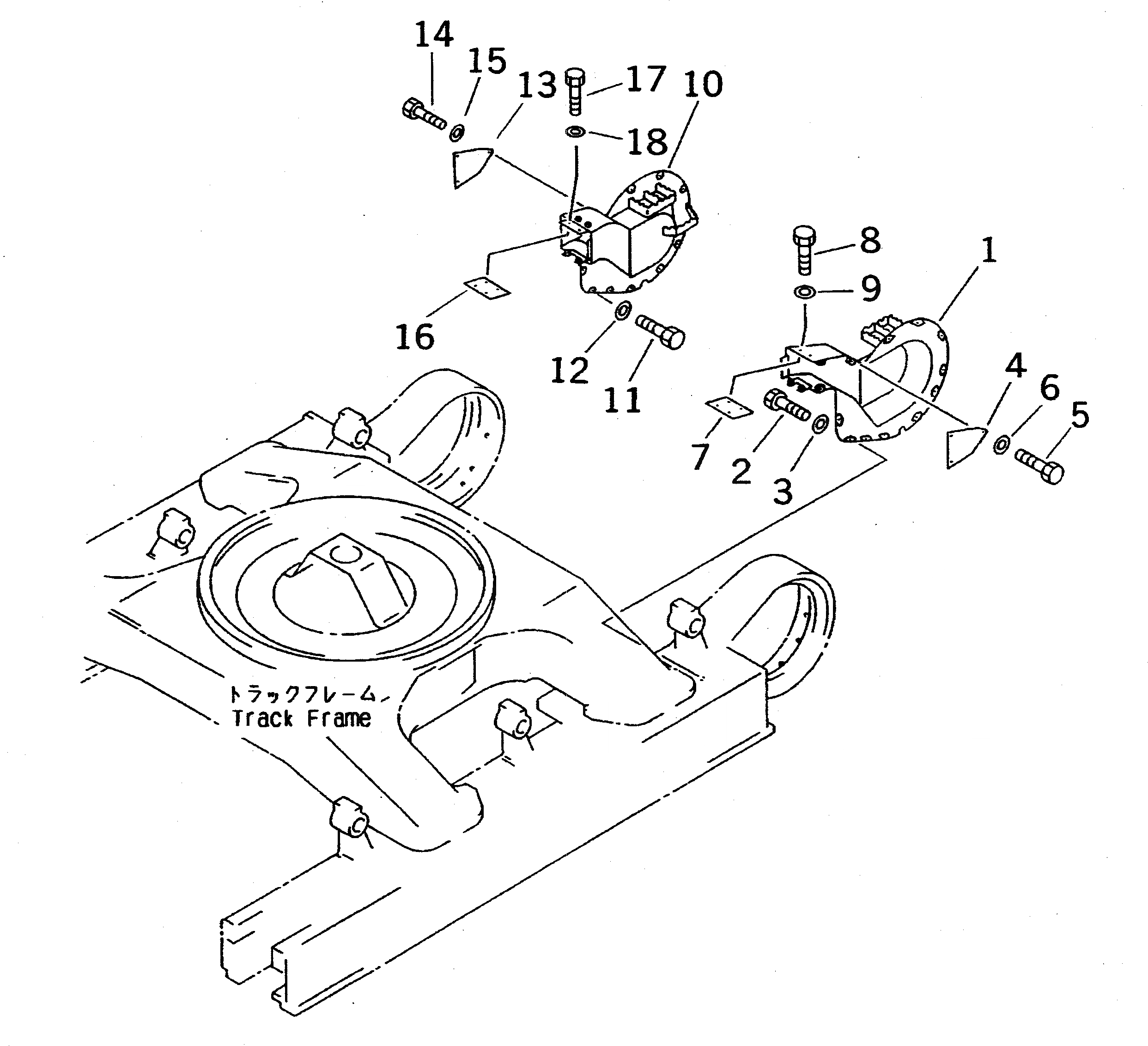
Запчасти Komatsu PC710-5 МОТОР ХОДА ЧАСТИ КОРПУСА(№9-) ХОДОВАЯ

Схема запчастей Komatsu PC710-5 - МОТОР ХОДА ЧАСТИ КОРПУСА(№9-) ХОДОВАЯ
FIT
1:1
100%

Артикул

Название

Примечание

Количество

1

209-30-61624

GUARD,L.H

2

01010-51645

BOLT

3

01643-31645

WASHER

4

209-30-61810

COVER

5

01010-51230

BOLT

6

175-54-34170

WASHER

7

209-30-61820

PLATE

8

01010-51230

BOLT

9

175-54-34170

WASHER

10

209-30-61634

GUARD,R.H

11

01010-51645

BOLT

12

01643-31645

WASHER

13

209-30-61810

COVER

14

01010-51230

BOLT

15

175-54-34170

WASHER

16

209-30-61820

PLATE

17

01010-51230

BOLT

18

175-54-34170

WASHER

Выбрано товаров: 18