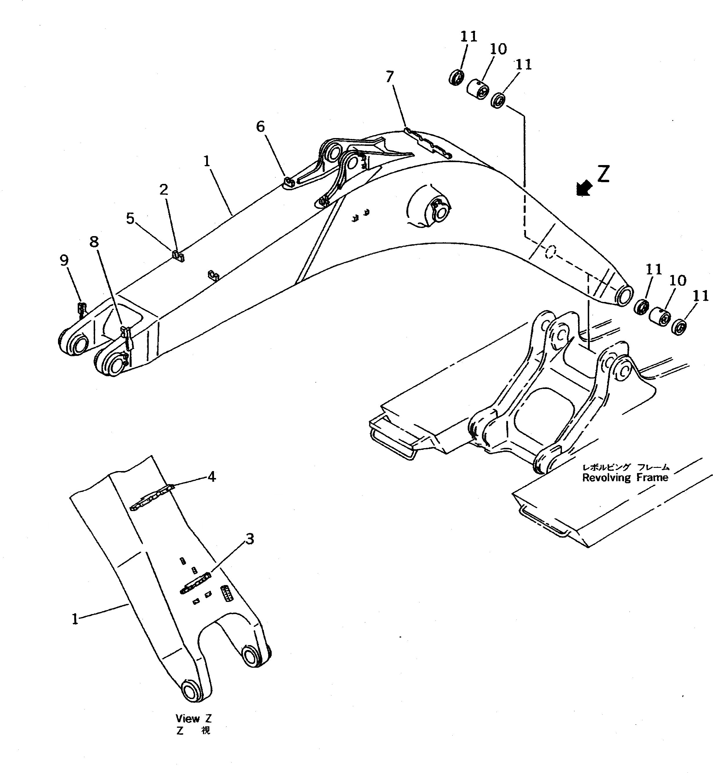
Запчасти Komatsu PC710-5 СТРЕЛА (8.M) (ЭКСКАВАТ.)(№-7) РАБОЧЕЕ ОБОРУДОВАНИЕ

Схема запчастей Komatsu PC710-5 - СТРЕЛА (8.M) (ЭКСКАВАТ.)(№-7) РАБОЧЕЕ ОБОРУДОВАНИЕ
FIT
1:1
100%

Артикул

Название

Примечание

Количество

|$1

209-70-00054

BOOM ASS'Y

1

BOOM

2

209-62-58520

SEAT

3

209-62-58210

CLAMP

4

209-62-58220

CLAMP

5

209-62-58350

CLAMP

6

209-62-58360

CLAMP

7

209-62-58510

CLAMP

8

209-62-68210

BRACKET

9

209-62-68220

BRACKET

10

209-70-51190

BUSHING

11

209-72-11261

SEAL

Выбрано товаров: 12