Запчасти Komatsu PC710-5 КОРОТК. РУКОЯТЬ (.M) (СМАЗКА) (ЭКСКАВАТ.)(№8-) РАБОЧЕЕ ОБОРУДОВАНИЕ

Схема запчастей Komatsu PC710-5 - КОРОТК. РУКОЯТЬ (.M) (СМАЗКА) (ЭКСКАВАТ.)(№8-) РАБОЧЕЕ ОБОРУДОВАНИЕ
FIT
1:1
100%

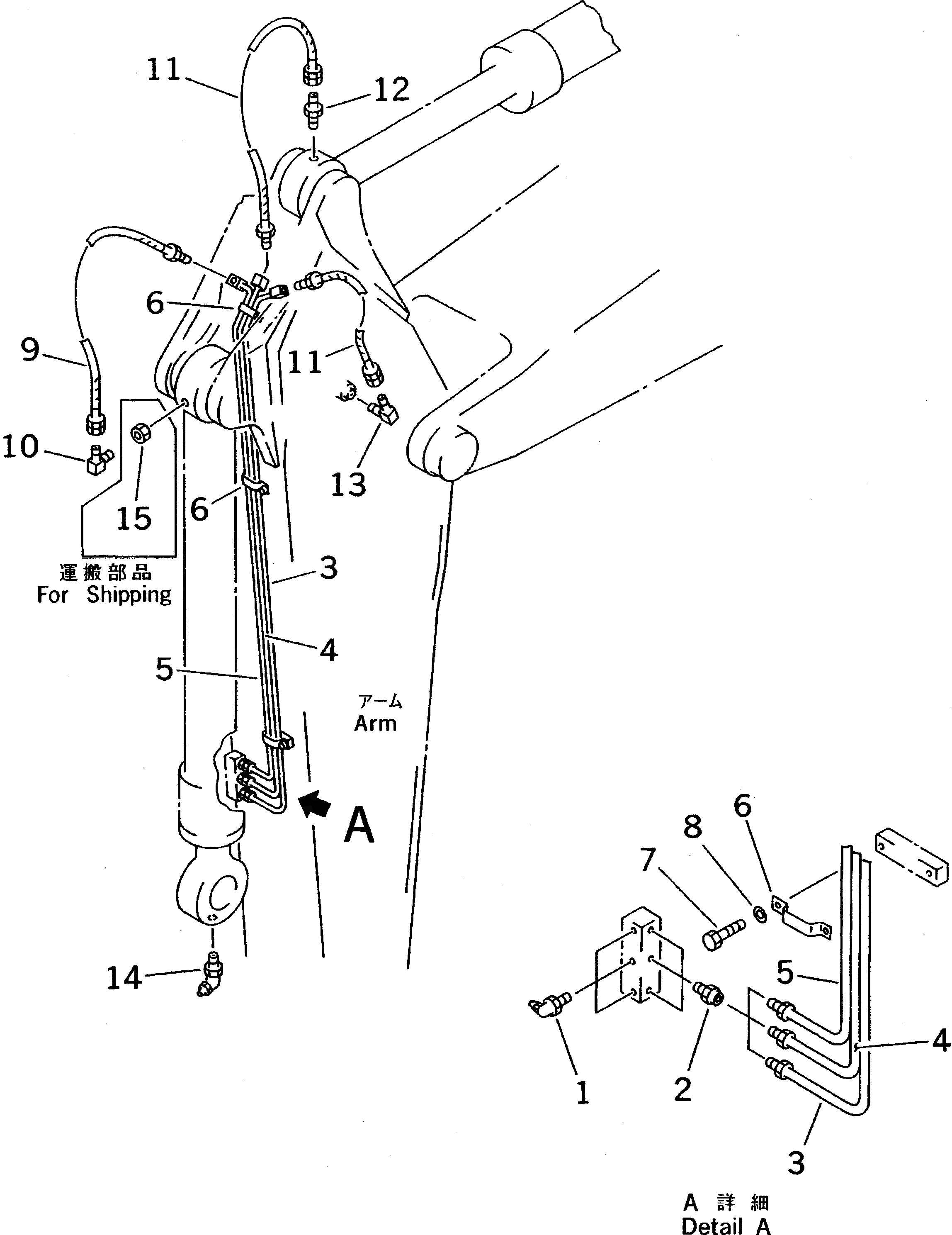
Артикул

Название

Примечание

Количество

1

07020-00900

FITTING

2

07213-51013

CONNECTOR

3

209-944-6611

TUBE

4

209-944-6620

TUBE

5

209-944-6630

TUBE

6

207-70-11770

CLIP

7

01010-50612

BOLT

8

01602-20619

WASHER

9

198-79-19280

HOSE, 890MM

10

205-70-51380

ELBOW

11

21T-72-76570

HOSE

12

205-70-51390

NIPPLE

13

205-70-51380

ELBOW

14

07020-00675

FITTING

15

209-98-51110

PLUG

Выбрано товаров: 15